Каталог запасных частей к технике: Geely SC7 (SL-1) (2015). FUEL PIPE & FILTER JL4G18/JL4G18A/JL4G15E, E IV
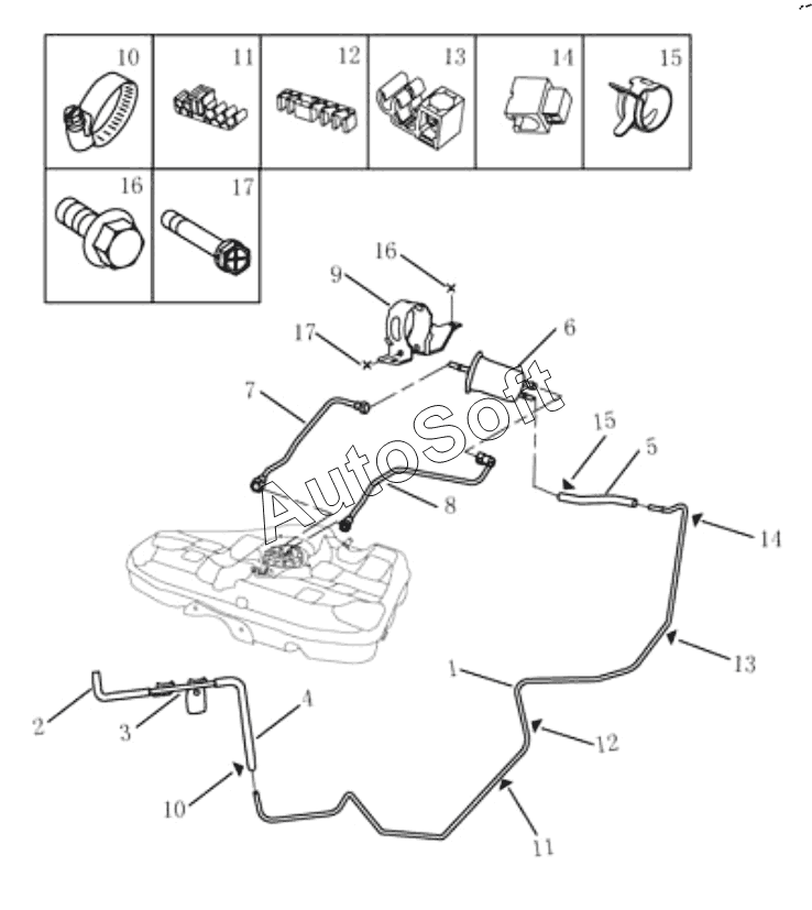
7
17
17
16
16
15
15
14
14
13
13
12
12
11
11
10
10
9
8
1
6
6
5
5
4
3
2
1
1
1
| Позиция на иллюстрации | Заводской номер детали | Название детали | |
|---|---|---|---|
| 1 | 1***3 | FUEL SUPPLY PIPE ASSY. | |
| 1 | 1***1 | NYLON FUEL PIPE #2 | |
| 1 | 1***8 | NYLON FUEL PIPE #2 | |
| 1 | 1***9 | NYLON FUEL PIPE #1 | |
| 2 | 1***9 | FUEL RAIL HOSE | |
| 3 | 1***0 | FUEL RAIL PIPE | |
| 4 | 1***2 | FUEL SUPPLY HOSE | |
| 5 | 1***5 | FUEL PIPE | |
| 5 | 1***4 | FUEL HOSE | |
| 6 | 1***7 | FUEL FILTER ASSY. | |
| 6 | 1***0 | FUEL FILTER | |
| 7 | I***R | INELT HOSE, FUEL FILTER | |
| 8 | R***P | RETURN HOSE, FUEL PUMP | |
| 9 | 1***8 | FUEL FILTER MOUNTING BRACKET ASSY. | |
| 10 | H***P | HOOP | |
| 11 | 5***I | 5-WAY CLIP I | |
| 12 | 5***I | 5-WAY CLIP II | |
| 13 | 1***7 | DUAL PIPE CLIP | |
| 14 | 1***8 | SQUARE JACK SINGLE WAY PIPE CLIP | |
| 15 | Q***6 | HOOP | |
| 16 | H***Y | HEXAGON HEAD BOLT & PLAIN WASHER ASSY. | |
| 17 | H***Y | HEXAGON HEAD BOLT & PLAIN WASHER ASSY. |
Содержащиеся в справочниках-каталогах запасные части и детали не предлагаются к продаже, а носят исключительно информационный характер. В демо-версии артикулы (номера деталей) скрыты. Если вы хотите видеть полные оригинальные номера запчастей, вам необходимо зарегистрироваться на нашем сайте и приобрести подписку по интересующей вас конфигурации, после этого вы сможете встроить онлайн-каталоги на ваш сайт или пользоваться ими из личного кабинета нашего сайта. Обращаем ваше внимание на то, что каталоги содержат информацию об оригинальных заводских номерах и названиях запчастей. База по аналогам в данный момент не реализована. Поиска по VIN-номерам в онлайн-каталоге не предусмотрено. Выбор конкретного каталога осуществляется путем открытия нужного типа техники, марки, модели с учетом года выпуска или модификации.