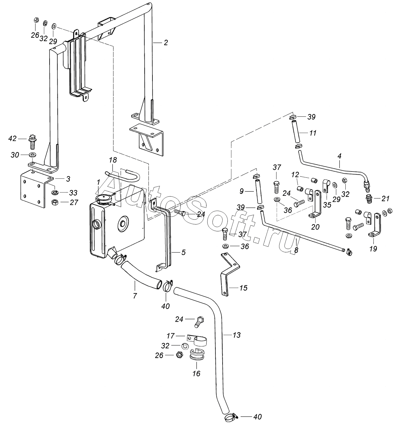
Каталог запасных частей к технике: Камский автозавод 4308-H3 (2019). 4308-1311005-10 Установка бачка расширительного
19
42
40
40
39
39
37
37
36
36
35
33
32
32
32
30
29
29
27
26
26
24
24
24
21
20
1
18
17
16
15
13
12
11
9
8
7
5
4
3
2
| Позиция на иллюстрации | Заводской номер детали | Название детали | |
|---|---|---|---|
| 1 | 4***0 | Бачок расширительный | |
| 2 | 4***0 | Кронштейн бачка расширительного | |
| 3 | 4***0 | Опора кронштейна | |
| 4 | 4***0 | Трубка отвода воздуха из двигателя | |
| 5 | 4***6 | Скоба наружная | |
| 7 | 4***9 | Рукав | |
| 8 | 4***0 | Труба воздухоотводящая | |
| 9 | 5***0 | Рукав | |
| 11 | 5***6 | Рукав | |
| 12 | 5***9 | Прокладка хомута | |
| 13 | 4***0 | Труба перепускная | |
| 15 | 4***0 | Кронштейн перепускной трубы | |
| 16 | 6***6 | Прокладка хомута | |
| 17 | 5***4 | Хомут | |
| 18 | 4***7 | Трубка | |
| 19 | 4***0 | Кронштейн передний | |
| 20 | 4***0 | Кронштейн задний | |
| 21 | 4***9 | Штуцер | |
| 24 | 1***1 | Болт М8-6gх25 | |
| 26 | 1***1 | Гайка М8х1,25-6Н | |
| 27 | 1***1 | Гайка М12х1,25-6Н | |
| 29 | 1***1 | Шайба плоская 8х20 | |
| 30 | 1***1 | Шайба плоская 12,6х28х3 | |
| 32 | 1***7 | Шайба 8 пружинная | |
| 33 | 1***7 | Шайба 12 пружинная | |
| 35 | 8***1 | Хомут 20 специальный | |
| 36 | 8***0 | Шайба тарельчатая 10 | |
| 37 | 3***0 | Болт М10-6gх25 | |
| 39 | T***1 | Хомут | |
| 40 | 3***1 | ХомутТ TORRO (45104998011090) | |
| 42 | 2***1 | Болт крепления цилиндра переднего тормоза |
Содержащиеся в справочниках-каталогах запасные части и детали не предлагаются к продаже, а носят исключительно информационный характер. В демо-версии артикулы (номера деталей) скрыты. Если вы хотите видеть полные оригинальные номера запчастей, вам необходимо зарегистрироваться на нашем сайте и приобрести подписку по интересующей вас конфигурации, после этого вы сможете встроить онлайн-каталоги на ваш сайт или пользоваться ими из личного кабинета нашего сайта. Обращаем ваше внимание на то, что каталоги содержат информацию об оригинальных заводских номерах и названиях запчастей. База по аналогам в данный момент не реализована. Поиска по VIN-номерам в онлайн-каталоге не предусмотрено. Выбор конкретного каталога осуществляется путем открытия нужного типа техники, марки, модели с учетом года выпуска или модификации.