Каталог запасных частей к технике: JAC Motors HK6819H (2013). HK6819H-WS-02 Spare Tyre Mechanism
1
2
2
2
3
3
3
4
4
4
5
6
7
8
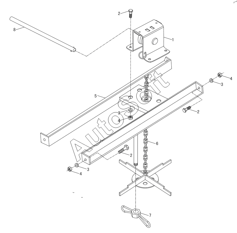
| Позиция на иллюстрации | Заводской номер детали | Название детали | |
|---|---|---|---|
| 1 | C***9 | Spare tyre lifter assembl y | |
| 2 | C***9 | Bolt | |
| 3 | C***9 | Washer | |
| 4 | C***9 | Nut | |
| 5 | C***9 | Bracket of spare tyre | |
| 6 | C***9 | Chain | |
| 7 | C***9 | Locking nut | |
| 8 | C***9 | Jaw |
Содержащиеся в справочниках-каталогах запасные части и детали не предлагаются к продаже, а носят исключительно информационный характер. В демо-версии артикулы (номера деталей) скрыты. Если вы хотите видеть полные оригинальные номера запчастей, вам необходимо зарегистрироваться на нашем сайте и приобрести подписку по интересующей вас конфигурации, после этого вы сможете встроить онлайн-каталоги на ваш сайт или пользоваться ими из личного кабинета нашего сайта. Обращаем ваше внимание на то, что каталоги содержат информацию об оригинальных заводских номерах и названиях запчастей. База по аналогам в данный момент не реализована. Поиска по VIN-номерам в онлайн-каталоге не предусмотрено. Выбор конкретного каталога осуществляется путем открытия нужного типа техники, марки, модели с учетом года выпуска или модификации.