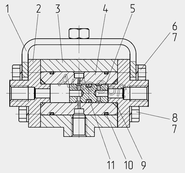
Каталог запасных частей к технике: МТЗ 3022ДЦ.1 (2011). Кран
1
2
3
4
5
6
7
7
8
9
10
11
| Позиция на иллюстрации | Заводской номер детали | Название детали | |
|---|---|---|---|
| 2822-1602100-Б | 2***Б | Кран | |
| 1 | 2***0 | Кронштейн | |
| 2 | 2***Б | Крышка | |
| 3 | 2***Б | Корпус | |
| 4 | 2***2 | Корпус | |
| 5 | 2***4 | Поршень | |
| 6 | Б***5 | Болт | |
| 7 | Ш***Т | Шайба | |
| 8 | Б***0 | Болт | |
| 9 | O***0 | Кольцо | |
| 10 | O***0 | Кольцо | |
| 11 | O***0 | Кольцо |
Содержащиеся в справочниках-каталогах запасные части и детали не предлагаются к продаже, а носят исключительно информационный характер. В демо-версии артикулы (номера деталей) скрыты. Если вы хотите видеть полные оригинальные номера запчастей, вам необходимо зарегистрироваться на нашем сайте и приобрести подписку по интересующей вас конфигурации, после этого вы сможете встроить онлайн-каталоги на ваш сайт или пользоваться ими из личного кабинета нашего сайта. Обращаем ваше внимание на то, что каталоги содержат информацию об оригинальных заводских номерах и названиях запчастей. База по аналогам в данный момент не реализована. Поиска по VIN-номерам в онлайн-каталоге не предусмотрено. Выбор конкретного каталога осуществляется путем открытия нужного типа техники, марки, модели с учетом года выпуска или модификации.