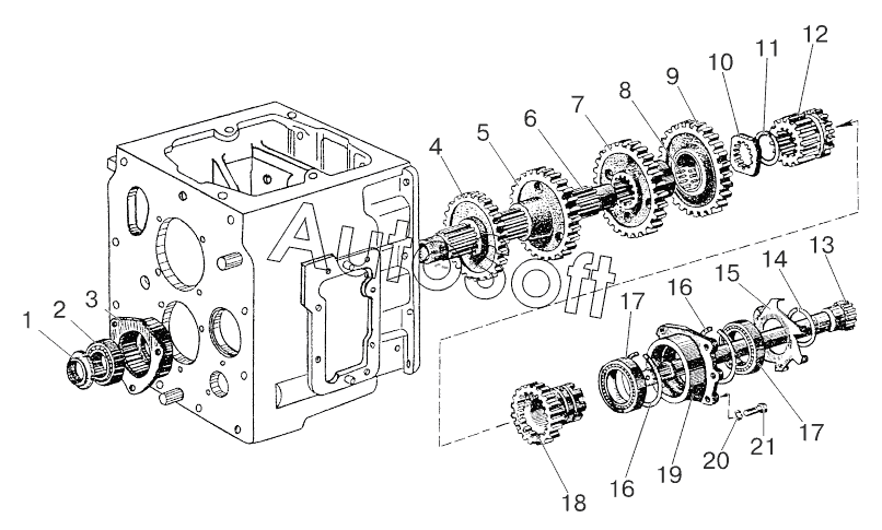
Каталог запасных частей к технике: МТЗ 800/900 (2003). Вал внутренний. Вал промежуточный (800, 820, 890, 892)
10
21
20
19
18
17
17
16
16
15
14
13
12
11
9
8
7
6
5
4
3
2
1
| Позиция на иллюстрации | Заводской номер детали | Название детали | |
|---|---|---|---|
| Ф50-1701065 | Ф***5 | Шестерня | |
| 1 | 5***1 | Гайка вала | |
| 2 | 6***1 | Подшипник | |
| 3 | 5***4 | Гнездо подшипника | |
| 3 | 5***0 | Гнездо подшипника с подшипником в сборе | |
| 4 | 5***8 | Шестерня V передачи и з. х. | |
| 5 | 5***6 | Шестерня IV передачи | |
| 6 | 7***Б | Вал промежуточный | |
| 7 | 5***4 | Шестерня III передачи | |
| 8 | К***5 | Подшипник | |
| 9 | Ф***Б | Шестерня промежуточная | |
| 10 | 5***3 | Шайба упорная | |
| 11 | 5***7 | Упор | |
| 12 | 7***6 | Шестерня 1-й ступени редуктора | |
| 13 | 5***5 | Вал внутренний | |
| 14 | 2***0 | Кольцо | |
| 15 | 5***1 | Крыльчатка | |
| 16 | 2***5 | Кольцо | |
| 17 | 1***1 | Подшипник | |
| 18 | 5***А | Шестерня II ступени редуктора в сборе | |
| 18 | 5***А | Шестерня II ступени редуктора | |
| 19 | 5***5 | Стакан | |
| 20 | Ш***2 | Шайба | |
| 21 | М***5 | Болт |
Содержащиеся в справочниках-каталогах запасные части и детали не предлагаются к продаже, а носят исключительно информационный характер. В демо-версии артикулы (номера деталей) скрыты. Если вы хотите видеть полные оригинальные номера запчастей, вам необходимо зарегистрироваться на нашем сайте и приобрести подписку по интересующей вас конфигурации, после этого вы сможете встроить онлайн-каталоги на ваш сайт или пользоваться ими из личного кабинета нашего сайта. Обращаем ваше внимание на то, что каталоги содержат информацию об оригинальных заводских номерах и названиях запчастей. База по аналогам в данный момент не реализована. Поиска по VIN-номерам в онлайн-каталоге не предусмотрено. Выбор конкретного каталога осуществляется путем открытия нужного типа техники, марки, модели с учетом года выпуска или модификации.