Каталог запасных частей к технике: МТЗ БЕЛАРУС 2103 (2015). Зеркало
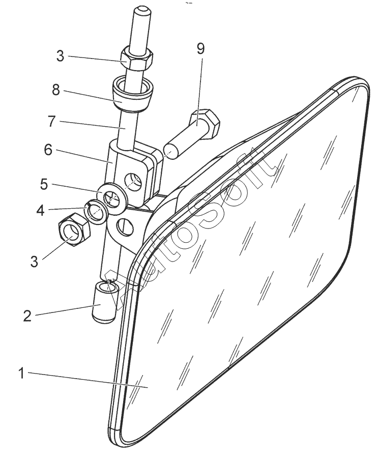
1
2
3
3
4
5
6
7
8
9
| Позиция на иллюстрации | Заводской номер детали | Название детали | |
|---|---|---|---|
| 2522-8201090 | 2***0 | Установка внутреннего зеркала | |
| 80-8201030 | 8***0 | Зеркало | |
| 1 | 8***5 | Зеркало | |
| 2 | 7***3 | Колпак | |
| 3 | Г***9 | Гайка М8-6Н.6.019 | |
| 4 | 4***6 | Шайба 8Т | |
| 5 | Ш***9 | Шайба | |
| 6 | А***1 | Хомутик | |
| 7 | 2***1 | Ось | |
| 8 | 2***2 | Колпачок | |
| 9 | Б***9 | Болт |
Содержащиеся в справочниках-каталогах запасные части и детали не предлагаются к продаже, а носят исключительно информационный характер. В демо-версии артикулы (номера деталей) скрыты. Если вы хотите видеть полные оригинальные номера запчастей, вам необходимо зарегистрироваться на нашем сайте и приобрести подписку по интересующей вас конфигурации, после этого вы сможете встроить онлайн-каталоги на ваш сайт или пользоваться ими из личного кабинета нашего сайта. Обращаем ваше внимание на то, что каталоги содержат информацию об оригинальных заводских номерах и названиях запчастей. База по аналогам в данный момент не реализована. Поиска по VIN-номерам в онлайн-каталоге не предусмотрено. Выбор конкретного каталога осуществляется путем открытия нужного типа техники, марки, модели с учетом года выпуска или модификации.