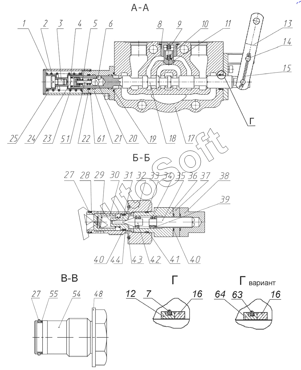
Каталог запасных частей к технике: МТЗ БЕЛАРУС 1221.7 (2022). Гидрораспределитель РП70
36
44
43
42
41
40
40
39
38
37
35
34
33
32
31
30
29
28
55
64
63
61
27
27
54
48
8
7
6
5
4
3
2
1
1
9
18
25
24
23
22
21
21
20
19
17
16
16
15
14
13
12
11
10
| Позиция на иллюстрации | Заводской номер детали | Название детали | |
|---|---|---|---|
| Гидрораспределитель РП70 | Г***0 | Гидрораспределитель | |
| РП70-050 | Р***0 | Клапан предохранительный | |
| РП70-080 | Р***0 | Заглушка | |
| РП70-20 | Р***0 | Крышка | |
| РП70-20.1 | Р***1 | Крышка | |
| РП70-8-0 | Р***0 | Секция распределителя | |
| РП70-8-0-М | Р***М | Гидрораспределитель | |
| РП70-8-1-М | Р***М | Секция распределителя | |
| РП70-Р1 | Р***1 | Крышка | |
| РП70-Р2 | Р***2 | Крышка | |
| 1 | 8***7 | Труба | |
| 1 | Р***0 | Труба | |
| 2 | Р***4 | Пружина | |
| 3 | Р***6 | Винт | |
| 4 | Р***1 | Тарелка | |
| 5 | Б***1 | Пружина | |
| 6 | 5***0 | Шарик | |
| 7 | 0***4 | Кольцо | |
| 8 | 4***0 | Шайба РМ1/2 | |
| 9 | Р***4 | Пробка | |
| 10 | Р***7 | Пружина | |
| 11 | Р***3 | Затвор | |
| 12 | Р***1 | Кольцо | |
| 13 | Р***2 | Планка | |
| 14 | 6***2 | Палец | |
| 15 | 2***9 | Шплинт | |
| 16 | Р***2 | Кольцо | |
| 17 | Р***1 | Корпус секции распределителя | |
| 18 | Р***3 | Золотник | |
| 19 | 0***2 | Кольцо | |
| 20 | 9***0 | Шарик | |
| 21 | Р***4 | Обойма | |
| 21 | Р***2 | Обойма | |
| 22 | 0***2 | Кольцо | |
| 23 | 0***4 | Кольцо | |
| 24 | Р***6 | Футорка | |
| 25 | Р***8 | Тарелка | |
| 26 | Р***2 | Крышка | |
| 27 | 0***4 | Кольцо | |
| 28 | Р***8 | Кольцо | |
| 29 | 7***7 | Пружина | |
| 30 | Р***Б | Клапан | |
| 31 | Р***4 | Седло | |
| 32 | Р***1 | Корпус | |
| 33 | 0***4 | Кольцо | |
| 34 | М***3 | Пружина | |
| 35 | Р***9 | Винт | |
| 36 | Р***3 | Штуцер | |
| 37 | Р***6 | Гайка | |
| 38 | Р***7 | Колпачок | |
| 39 | С***9 | Шайба | |
| 40 | 0***2 | Кольцо | |
| 41 | Р***2 | Кольцо | |
| 42 | М***1 | Игла | |
| 43 | 0***2 | Кольцо | |
| 44 | Р***1 | Кольцо | |
| 45 | Р***4 | Кронштейн | |
| 46 | Р***1 | Крышка | |
| 47 | 0***2 | Кольцо | |
| 48 | 4***1 | Шайба РМ22 | |
| 49 | Р***6 | Пробка | |
| 50 | 0***2 | Кольцо | |
| 50 | 6***2 | Кольцо | |
| 52 | В***9 | Винт | |
| 53 | 6***Т | Шайба | |
| 54 | Р***1 | Заглушка | |
| 55 | Р***8 | Кольцо | |
| 56 | Р***2 | Шпилька | |
| 57 | М***9 | Гайка | |
| 58 | 1***Т | Шайба | |
| 59 | Р***8 | Табличка фирменная | |
| 60 | 2***5 | Заклепка | |
| 61 | 0***4 | Кольцо | |
| 62 | Р***8 | Крышка | |
| 63 | 1***2 | Кольцо | |
| 64 | R***6 | Уплотнение |
Содержащиеся в справочниках-каталогах запасные части и детали не предлагаются к продаже, а носят исключительно информационный характер. В демо-версии артикулы (номера деталей) скрыты. Если вы хотите видеть полные оригинальные номера запчастей, вам необходимо зарегистрироваться на нашем сайте и приобрести подписку по интересующей вас конфигурации, после этого вы сможете встроить онлайн-каталоги на ваш сайт или пользоваться ими из личного кабинета нашего сайта. Обращаем ваше внимание на то, что каталоги содержат информацию об оригинальных заводских номерах и названиях запчастей. База по аналогам в данный момент не реализована. Поиска по VIN-номерам в онлайн-каталоге не предусмотрено. Выбор конкретного каталога осуществляется путем открытия нужного типа техники, марки, модели с учетом года выпуска или модификации.