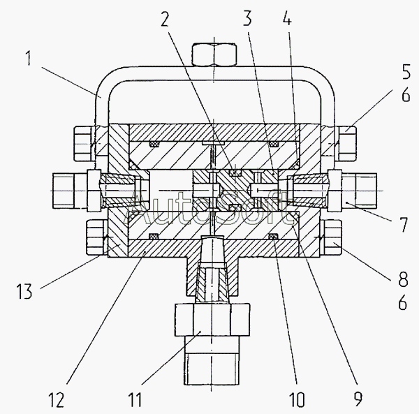
Каталог запасных частей к технике: МТЗ-1222/1523 (2009). Кран
2822-1602100-03
1
2
3
4
5
6
6
7
8
9
10
11
12
13
| Позиция на иллюстрации | Заводской номер детали | Название детали | |
|---|---|---|---|
| 2822-1602100-03 | 2***3 | Кран | |
| 1 | 2***0 | Кронштейн | |
| 2 | 0***6 | Кольцо | |
| 3 | 2***4 | Поршень | |
| 4 | 0***6 | Кольцо | |
| 5 | М***5 | Винт | |
| 6 | 6***Т | Шайба | |
| 7 | 8***9 | Штуцер | |
| 8 | М***0 | Винт | |
| 9 | 2***2 | Корпус | |
| 10 | 0***6 | Кольцо | |
| 11 | 8***5 | Штуцер | |
| 12 | 2***1 | Корпус | |
| 13 | 2***3 | Крышка |
Содержащиеся в справочниках-каталогах запасные части и детали не предлагаются к продаже, а носят исключительно информационный характер. В демо-версии артикулы (номера деталей) скрыты. Если вы хотите видеть полные оригинальные номера запчастей, вам необходимо зарегистрироваться на нашем сайте и приобрести подписку по интересующей вас конфигурации, после этого вы сможете встроить онлайн-каталоги на ваш сайт или пользоваться ими из личного кабинета нашего сайта. Обращаем ваше внимание на то, что каталоги содержат информацию об оригинальных заводских номерах и названиях запчастей. База по аналогам в данный момент не реализована. Поиска по VIN-номерам в онлайн-каталоге не предусмотрено. Выбор конкретного каталога осуществляется путем открытия нужного типа техники, марки, модели с учетом года выпуска или модификации.