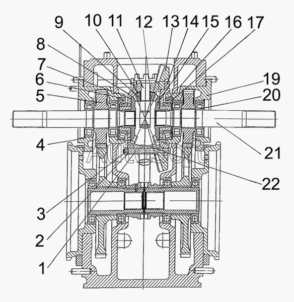
Каталог запасных частей к технике: МТЗ-2022 (2010). Дифференциал, стакан подшипников
10
22
21
20
19
17
16
15
14
13
12
11
2022-2403010
9
8
7
6
5
4
3
2
1
2022-2407060
| Позиция на иллюстрации | Заводской номер детали | Название детали | |
|---|---|---|---|
| 2022-2403010 | 2***0 | Дифференциал | |
| 2022-2407060 | 2***0 | Стакан подшипников | |
| 1 | 2***4 | Болт | |
| 2 | 2***3 | Пластина стопорная | |
| 3 | М***2 | Гайка | |
| 4 | С***5 | Кольцо | |
| 5 | 2***2 | Шестерня | |
| 6 | 7***А | Подшипник | |
| 7 | 2***9 | Шайба | |
| 8 | 2***Б | Крышка | |
| 9 | 2***5 | Сателлит | |
| 10 | 2***Б | Шайба сателлита | |
| 11 | 2***Б | Крестовина | |
| 12 | 4***3 | Ролик | |
| 13 | 2***1 | Шестерня ведомая | |
| 14 | 2***8 | Корпус | |
| 15 | 2***8 | Шестерня полуосевая | |
| 16 | 3***6 | Подшипник | |
| 17 | 2***3 | Кольцо | |
| 19 | 2***2 | Стакан подшипников | |
| 20 | 4***1 | Подшипник | |
| 21 | 2***3 | Вал | |
| 22 | 2***Б | Проставка |
Содержащиеся в справочниках-каталогах запасные части и детали не предлагаются к продаже, а носят исключительно информационный характер. В демо-версии артикулы (номера деталей) скрыты. Если вы хотите видеть полные оригинальные номера запчастей, вам необходимо зарегистрироваться на нашем сайте и приобрести подписку по интересующей вас конфигурации, после этого вы сможете встроить онлайн-каталоги на ваш сайт или пользоваться ими из личного кабинета нашего сайта. Обращаем ваше внимание на то, что каталоги содержат информацию об оригинальных заводских номерах и названиях запчастей. База по аналогам в данный момент не реализована. Поиска по VIN-номерам в онлайн-каталоге не предусмотрено. Выбор конкретного каталога осуществляется путем открытия нужного типа техники, марки, модели с учетом года выпуска или модификации.