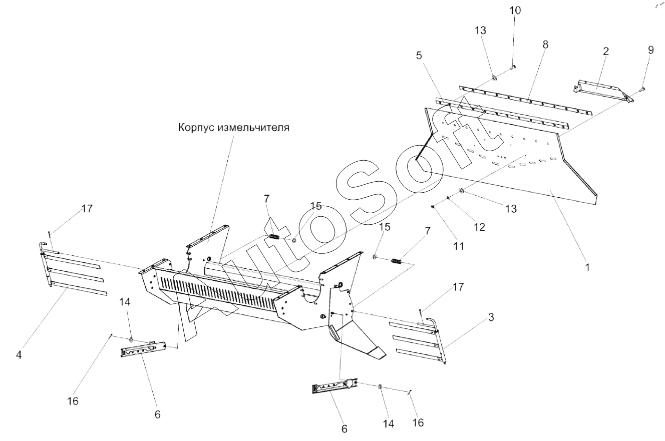
Каталог запасных частей к технике: Гомсельмаш КЗС-4118К ПАЛЕССЕ GS 4118 (2019). Дефлектор КЗК-12-0290320
9
17
17
16
16
15
15
14
14
13
13
12
11
10
8
7
7
6
6
5
4
3
2
1
| Позиция на иллюстрации | Заводской номер детали | Название детали | |
|---|---|---|---|
| КЗК-12-0290320 | К***0 | Дефлектор | |
| 1 | К***0 | Кожух | |
| 2 | К***0 | Крышка | |
| 3 | К***0 | Граблина | |
| 4 | К***1 | Граблина | |
| 5 | К***5 | Уплотнение | |
| 6 | К***6 | Полоз | |
| 7 | К***6 | Пружина | |
| 8 | К***3 | Планка | |
| 9 | Б***8 | Болт М6-6eх14-7798 | |
| 10 | Б***8 | Болт М6-6eх20-7798 | |
| 11 | Г***5 | Гайка М6-6G-5915 | |
| 12 | Ш***2 | Шайба 6Т.65Г-6402 | |
| 13 | Ш***1 | Шайба С.6х1,4.01-11371 | |
| 14 | Ш***1 | Шайба С.12.01-11371 | |
| 15 | Ш***1 | Шайба С.14.01-11371 | |
| 16 | Ш***7 | Шплинт 3,2х20-397 | |
| 17 | Ш***7 | Шплинт 4х22-397 |
Содержащиеся в справочниках-каталогах запасные части и детали не предлагаются к продаже, а носят исключительно информационный характер. В демо-версии артикулы (номера деталей) скрыты. Если вы хотите видеть полные оригинальные номера запчастей, вам необходимо зарегистрироваться на нашем сайте и приобрести подписку по интересующей вас конфигурации, после этого вы сможете встроить онлайн-каталоги на ваш сайт или пользоваться ими из личного кабинета нашего сайта. Обращаем ваше внимание на то, что каталоги содержат информацию об оригинальных заводских номерах и названиях запчастей. База по аналогам в данный момент не реализована. Поиска по VIN-номерам в онлайн-каталоге не предусмотрено. Выбор конкретного каталога осуществляется путем открытия нужного типа техники, марки, модели с учетом года выпуска или модификации.