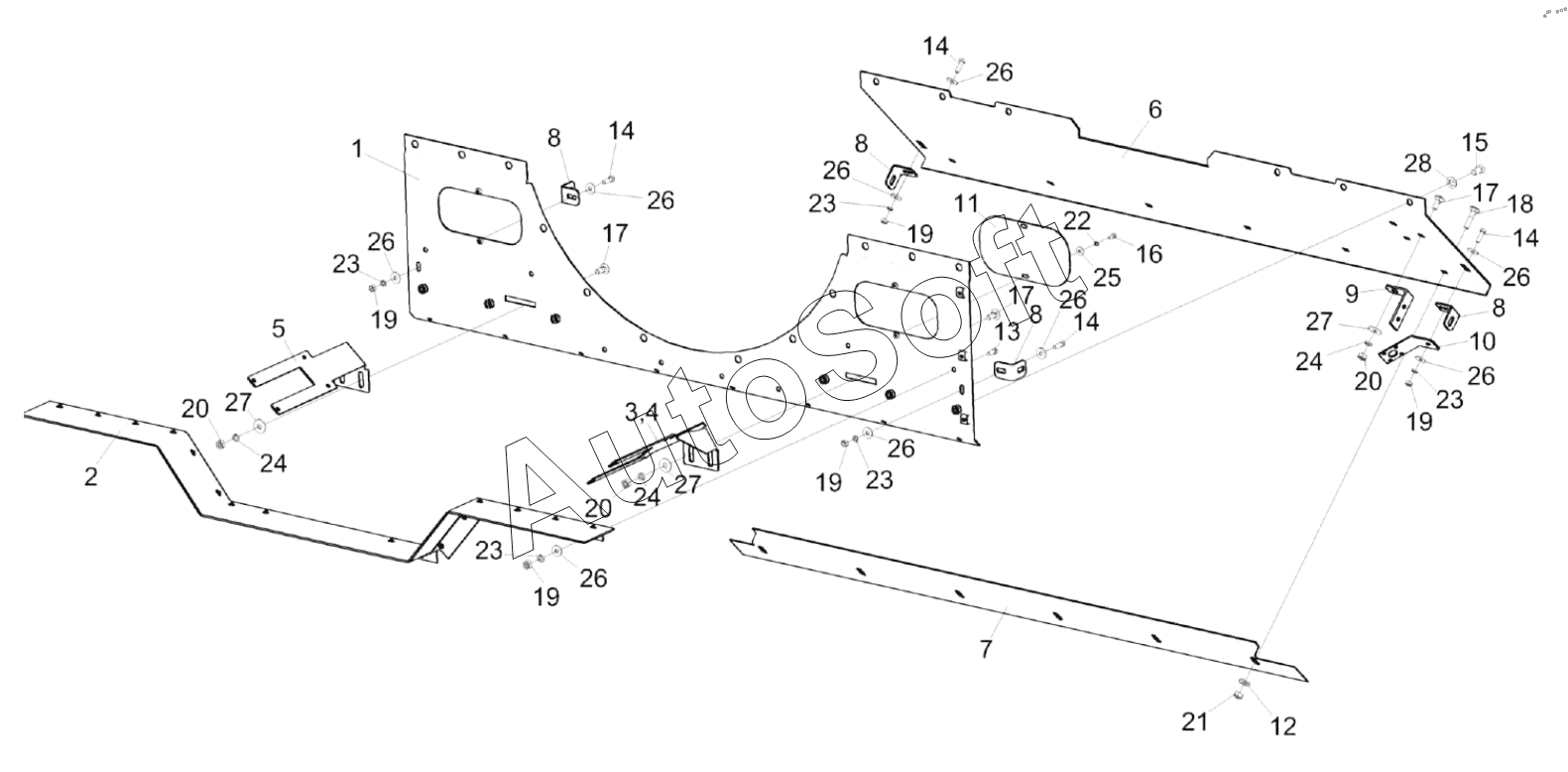
Каталог запасных частей к технике: Гомсельмаш GR700 (КЗК-1119Р-0100000) (2023). Стенка КЗК-1119Р-0212380
14
14
14
14
28
27
27
27
26
26
26
26
26
26
26
26
26
25
24
24
24
23
23
23
23
23
22
21
20
20
20
19
19
19
19
19
18
17
17
17
16
15
13
12
11
10
9
8
8
8
8
7
6
5
4
3
2
1
| Позиция на иллюстрации | Заводской номер детали | Название детали | |
|---|---|---|---|
| КЗК-1119Р-0212380 | К***0 | Стенка | |
| 1 | К***0 | Стенка | |
| 2 | К***0 | Фартук | |
| 3 | К***0 | Установка датчиков потерь | |
| 4 | К***4 | Кронштейн | |
| 5 | К***1 | Кронштейн | |
| 6 | К***А | Стенка | |
| 7 | К***А | Стенка | |
| 8 | К***5 | Кронштейн | |
| 9 | К***3 | Кронштейн | |
| 10 | К***6 | Кронштейн | |
| 11 | К***6 | Люк | |
| 12 | К***1 | Шайба | |
| 13 | Б***6 | Болт М8-6eх20-7796 | |
| 14 | Б***6 | Болт М8-6eх25-7796 | |
| 15 | Б***6 | Болт М12-6eх20-7796 | |
| 16 | Б***8 | Болт М6-6eх14-7798 | |
| 17 | Б***2 | Болт | |
| 18 | Б***2 | Болт | |
| 19 | Г***5 | Гайка М8-6G-5915 | |
| 20 | Г***5 | Гайка М10-6G-5915 | |
| 21 | Г***5 | Гайка | |
| 22 | Ш***2 | Шайба 6Т 65Г-6402 | |
| 23 | Ш***2 | Шайба 8Т 65Г-6402 | |
| 24 | Ш***2 | Шайба 10Т 65Г-6402 | |
| 25 | Ш***8 | Шайба | |
| 26 | Ш***8 | Шайба | |
| 27 | Ш***8 | Шайба | |
| 28 | Ш***1 | Шайба C.12.01-11371 |
Содержащиеся в справочниках-каталогах запасные части и детали не предлагаются к продаже, а носят исключительно информационный характер. В демо-версии артикулы (номера деталей) скрыты. Если вы хотите видеть полные оригинальные номера запчастей, вам необходимо зарегистрироваться на нашем сайте и приобрести подписку по интересующей вас конфигурации, после этого вы сможете встроить онлайн-каталоги на ваш сайт или пользоваться ими из личного кабинета нашего сайта. Обращаем ваше внимание на то, что каталоги содержат информацию об оригинальных заводских номерах и названиях запчастей. База по аналогам в данный момент не реализована. Поиска по VIN-номерам в онлайн-каталоге не предусмотрено. Выбор конкретного каталога осуществляется путем открытия нужного типа техники, марки, модели с учетом года выпуска или модификации.