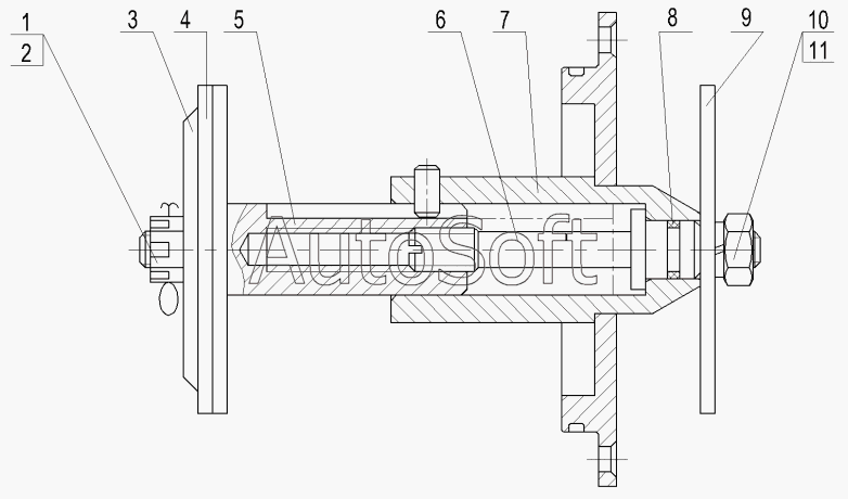
Каталог запасных частей к технике: ККЗ КС-5576Б (2009). ВЕНТИЛЬ В СБОРЕ КС-5576А.208.02.000
1
2
3
4
5
6
7
8
8
9
10
11
| Позиция на иллюстрации | Заводской номер детали | Название детали | |
|---|---|---|---|
| 1 | К***5 | Гайка | |
| 2 | 2***9 | Шплинт 2,5х25.019 | |
| 3 | К***2 | Шайба | |
| 4 | К***3 | Прокладка | |
| 5 | К***0 | Шток | |
| 6 | К***1 | Винт | |
| 7 | К***0 | Крышка в сборе | |
| 8 | 0***3 | Кольцо 011-015-25-2-3 | |
| 8 | 1***0 | Кольцо 11В820 | |
| 9 | К***4 | Ручка | |
| 10 | М***9 | Гайка М10-6Н.5.019 | |
| 11 | 1***5 | Шайба 10.65Г.05 |
Содержащиеся в справочниках-каталогах запасные части и детали не предлагаются к продаже, а носят исключительно информационный характер. В демо-версии артикулы (номера деталей) скрыты. Если вы хотите видеть полные оригинальные номера запчастей, вам необходимо зарегистрироваться на нашем сайте и приобрести подписку по интересующей вас конфигурации, после этого вы сможете встроить онлайн-каталоги на ваш сайт или пользоваться ими из личного кабинета нашего сайта. Обращаем ваше внимание на то, что каталоги содержат информацию об оригинальных заводских номерах и названиях запчастей. База по аналогам в данный момент не реализована. Поиска по VIN-номерам в онлайн-каталоге не предусмотрено. Выбор конкретного каталога осуществляется путем открытия нужного типа техники, марки, модели с учетом года выпуска или модификации.