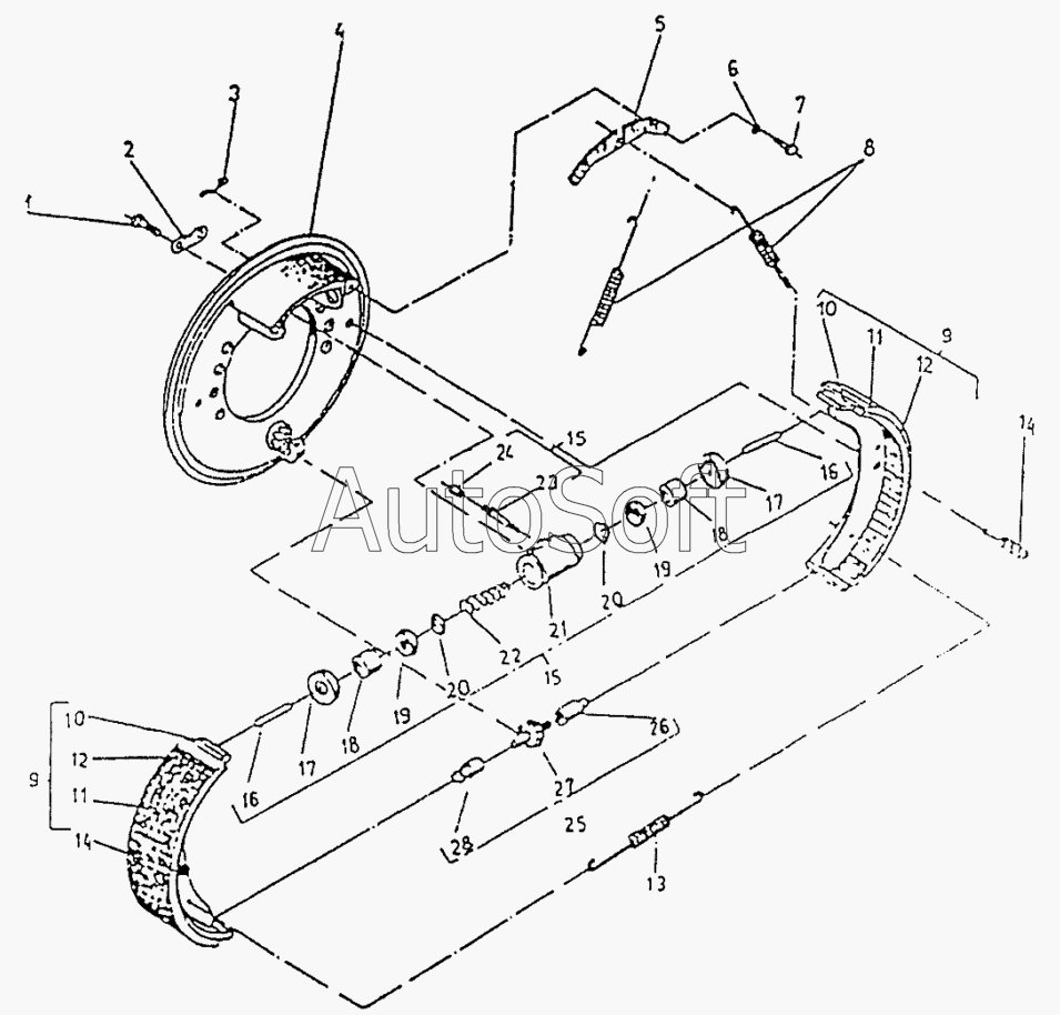
Каталог запасных частей к технике: Балканкар Рекорд ДВ-1784 (2002). Сервотормоз 335 1788.h.20, 1792.h.20, 1794.h.24
15
15
6941.21.00.00.00-02
28
27
26
25
24
23
22
21
20
20
19
19
18
18
17
17
16
16
1
14
14
13
12
12
11
11
10
10
9
9
8
7
6
5
4
3
2
| Позиция на иллюстрации | Заводской номер детали | Название детали | |
|---|---|---|---|
| 6941.21.00.00.00-02 | 6***2 | Сервотормоз 335 | |
| 1 | [***] | Болт 1 М8х35-8.8 БДС1232-86 | |
| 2 | 6***4 | Пластина контровочная | |
| 3 | 6***6 | Рычаг | |
| 4 | 6***3 | Диск тормозной в сборе | |
| 5 | 6***1 | Плита | |
| 6 | [***] | Шайба 2-8Н БДС833-82 | |
| 7 | [***] | Болт 1 М8х16-8.8 БДС1232-86 | |
| 8 | 6***1 | Пружина возвратная | |
| 9 | 6***1 | Колодка тормозная в сборе | |
| 10 | 6***2 | Колодка тормозная | |
| 11 | [***] | Тормозная накладка 297 КтМ1152-01 | |
| 12 | 6***4 | Заклепка | |
| 13 | 6***2 | Возвратная пружина | |
| 14 | 6***2 | Пружина фиксаторная | |
| 15 | 4***5 | Колесный тормозной цилиндр двойного действия КСЦД-35А/15 | |
| 16 | 4***2 | Штифт | |
| 17 | [***] | Предохранительная мембрана КЦ35х15 3Н6910 | |
| 18 | 4***2 | Поршень | |
| 19 | [***] | Манжета КЦ-35 3Н6430 | |
| 20 | 4***П | Тарелка | |
| 21 | 5***Z | Корпус | |
| 22 | 4***4 | Пружина | |
| 23 | [***] | Клапан удаления воздуха М10х1-6gх10х51 3Н1720 | |
| 24 | 1***П | Колпачок предохранительный | |
| 25 | 6***0 | Сцепляющий механизм | |
| 26 | 6***1 | Специальная втулка | |
| 27 | 6***0 | Шестерня в сборе | |
| 28 | 6***3 | Опорная втулка |
Содержащиеся в справочниках-каталогах запасные части и детали не предлагаются к продаже, а носят исключительно информационный характер. В демо-версии артикулы (номера деталей) скрыты. Если вы хотите видеть полные оригинальные номера запчастей, вам необходимо зарегистрироваться на нашем сайте и приобрести подписку по интересующей вас конфигурации, после этого вы сможете встроить онлайн-каталоги на ваш сайт или пользоваться ими из личного кабинета нашего сайта. Обращаем ваше внимание на то, что каталоги содержат информацию об оригинальных заводских номерах и названиях запчастей. База по аналогам в данный момент не реализована. Поиска по VIN-номерам в онлайн-каталоге не предусмотрено. Выбор конкретного каталога осуществляется путем открытия нужного типа техники, марки, модели с учетом года выпуска или модификации.