Меню Закрыть

Демо

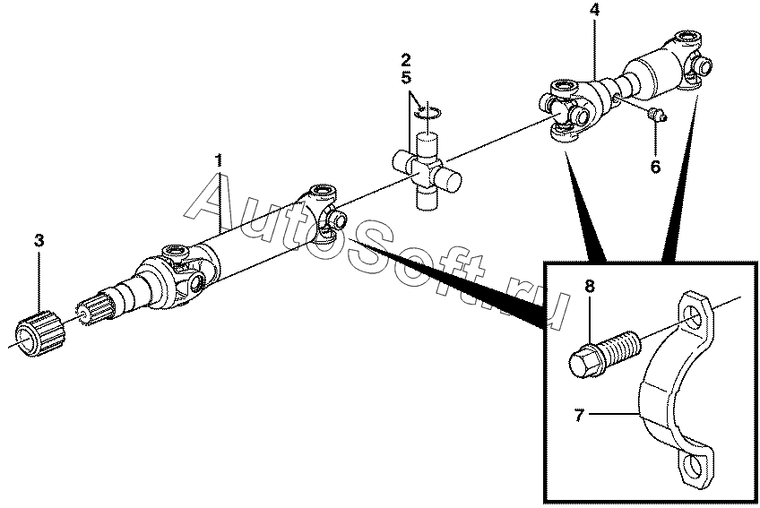
Каталог запасных частей к технике: Volvo BL71 Plus. 11891209, 11891255 Propeller shaft

zoom-in zoom-out enlarge shrink circle-right circle-left file-text2 info cart
1
2
4
5
6
7
8
Позиция на иллюстрации Заводской номер детали Название детали
1 V***5 Drive Shaft
2 V***0 Spider
4 V***2 Driveshaft
5 V***0 Spider
6 V***5 Lub Nipple
7 V***9 Brace
8 V***8 Screw
Содержащиеся в справочниках-каталогах запасные части и детали не предлагаются к продаже, а носят исключительно информационный характер. В демо-версии артикулы (номера деталей) скрыты. Если вы хотите видеть полные оригинальные номера запчастей, вам необходимо зарегистрироваться на нашем сайте и приобрести подписку по интересующей вас конфигурации, после этого вы сможете встроить онлайн-каталоги на ваш сайт или пользоваться ими из личного кабинета нашего сайта. Обращаем ваше внимание на то, что каталоги содержат информацию об оригинальных заводских номерах и названиях запчастей. База по аналогам в данный момент не реализована. Поиска по VIN-номерам в онлайн-каталоге не предусмотрено. Выбор конкретного каталога осуществляется путем открытия нужного типа техники, марки, модели с учетом года выпуска или модификации.