Каталог запасных частей к технике: ChengGong CG-932H (2014). Z33E01T47 Engine Assembly
26
26
26
26
18
18
19
19
19
20
20
21
22
23
23
24
25
25
25
25
17
27
28
29
29
30
31
32
33
1
16
15
14
13
12
11
10
9
8
7
6
5
4
3
2
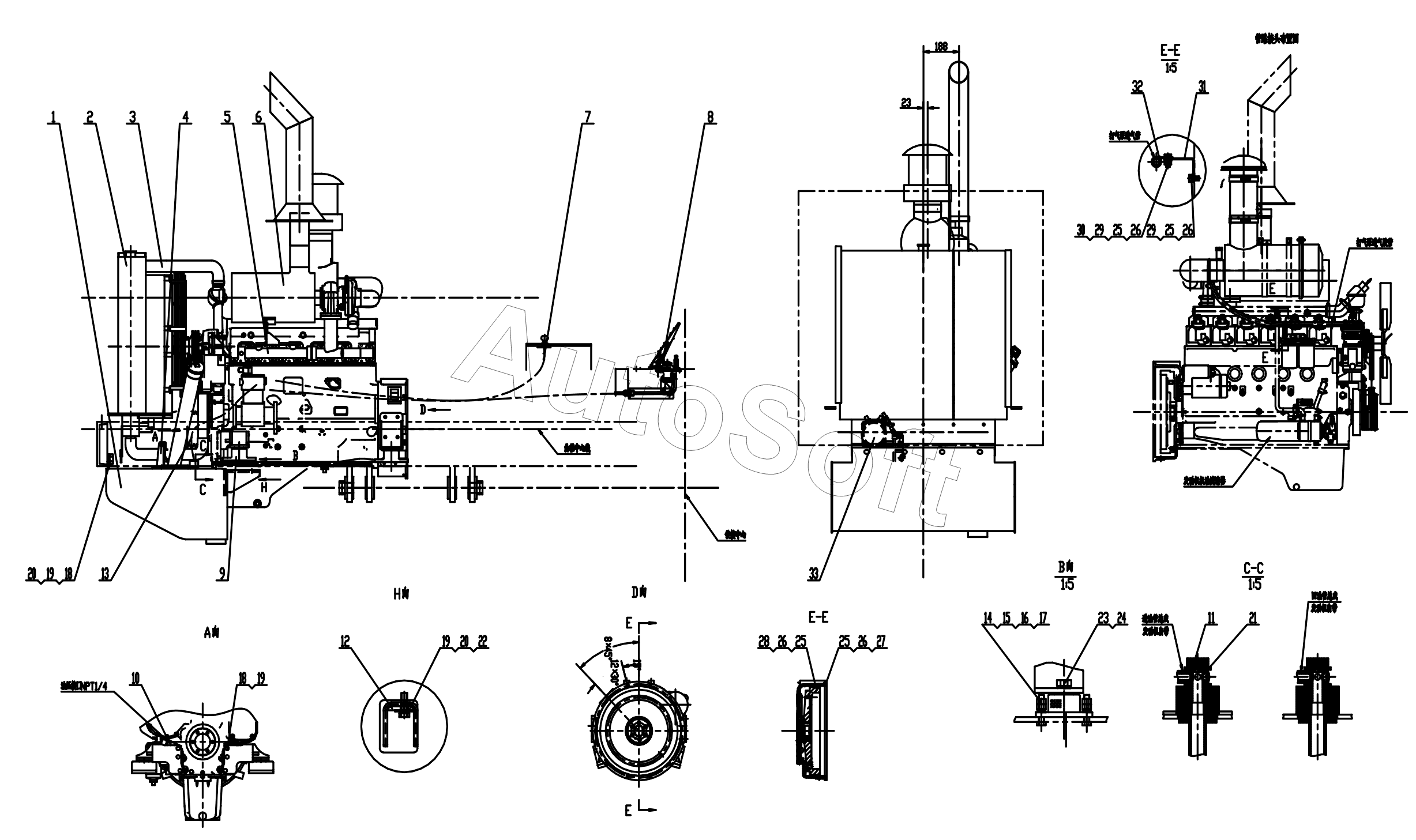
| Позиция на иллюстрации | Заводской номер детали | Название детали | |
|---|---|---|---|
| 1 | Z***4 | Fuel Tank | |
| 2 | Z***9 | Cooling System | |
| 3 | Z***9 | Outlet Hose | |
| 4 | Z***9 | Inlet Hose | |
| 5 | W***1 | Diesel Engine | |
| 6 | Z***9 | Exhaust System | |
| 7 | C***) | Flameout wire | |
| 8 | Z***7 | Pedal Control Assembly | |
| 9 | E***G | Pamper | |
| 10 | Z***6 | Tie-In | |
| 11 | Z***4 | Bolt | |
| 12 | Z***7 | Bracket | |
| 13 | L***4 | Nozzle | |
| 14 | G***0 | Bolt | |
| 15 | G***7 | Washer | |
| 16 | G***2 | Washer 14 | |
| 17 | G***0 | Nut | |
| 18 | G***0 | Bolt | |
| 19 | G***7 | Washer | |
| 20 | G***2 | Washer 16 | |
| 21 | J***7 | Washer | |
| 22 | G***0 | Bolt | |
| 23 | G***0 | Bolt | |
| 24 | G***7 | Washer | |
| 25 | G***2 | Washer 10 | |
| 26 | G***7 | Washer | |
| 27 | G***0 | Bolt | |
| 28 | G***0 | Bolt | |
| 29 | G***0 | Bolt | |
| 30 | G***0 | Nut | |
| 31 | Z***9 | Bracket | |
| 32 | L***0 | Nozzle | |
| 33 | Z***7 | Compressor Assembly |
Содержащиеся в справочниках-каталогах запасные части и детали не предлагаются к продаже, а носят исключительно информационный характер. В демо-версии артикулы (номера деталей) скрыты. Если вы хотите видеть полные оригинальные номера запчастей, вам необходимо зарегистрироваться на нашем сайте и приобрести подписку по интересующей вас конфигурации, после этого вы сможете встроить онлайн-каталоги на ваш сайт или пользоваться ими из личного кабинета нашего сайта. Обращаем ваше внимание на то, что каталоги содержат информацию об оригинальных заводских номерах и названиях запчастей. База по аналогам в данный момент не реализована. Поиска по VIN-номерам в онлайн-каталоге не предусмотрено. Выбор конкретного каталога осуществляется путем открытия нужного типа техники, марки, модели с учетом года выпуска или модификации.