Каталог запасных частей к технике: XCMG GR3005. 800164462 ENGINE

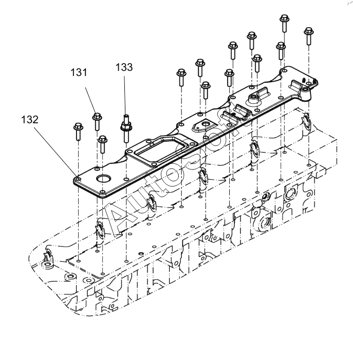
131
132
133
Позиция на иллюстрации | Заводской номер детали | Название детали | |
---|---|---|---|
131 | 8***0 | HEXAGON FLANGE BOLT | |
132 | 8***8 | INTAKE MANIFOLD COVER | |
133 | 8***9 | HEXAGON FLANGE BOLT |
Содержащиеся в справочниках-каталогах запасные части и детали не предлагаются к продаже, а носят исключительно информационный характер. В демо-версии артикулы (номера деталей) скрыты. Если вы хотите видеть полные оригинальные номера запчастей, вам необходимо зарегистрироваться на нашем сайте и приобрести подписку по интересующей вас конфигурации, после этого вы сможете встроить онлайн-каталоги на ваш сайт или пользоваться ими из личного кабинета нашего сайта. Обращаем ваше внимание на то, что каталоги содержат информацию об оригинальных заводских номерах и названиях запчастей. База по аналогам в данный момент не реализована. Поиска по VIN-номерам в онлайн-каталоге не предусмотрено. Выбор конкретного каталога осуществляется путем открытия нужного типа техники, марки, модели с учетом года выпуска или модификации.