Каталог запасных частей к технике: XCMG GR3005. 800164462 ENGINE

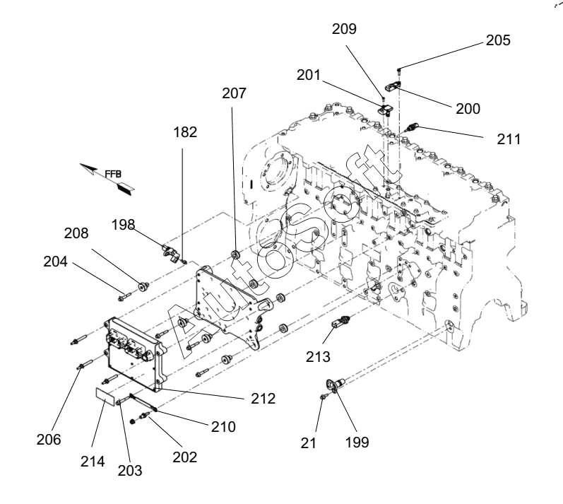
205
214
213
212
211
210
209
208
207
206
21
204
203
202
201
200
199
198
182
Позиция на иллюстрации | Заводской номер детали | Название детали | |
---|---|---|---|
21 | 8***2 | HEXAGON FLANGE BOLT | |
182 | 8***0 | HEXAGON FLANGE BOLT | |
198 | 8***6 | POSITION SENSOR | |
199 | 8***1 | POSITION SENSOR | |
200 | 8***7 | PRESSURE SENSOR | |
201 | 8***2 | TEMPERATURE SENSOR | |
202 | 8***3 | HEXAGON FLANGE BOLT | |
203 | 8***4 | HEXAGON FLANGE BOLT | |
204 | 8***0 | HEXAGON FLANGE BOLTS | |
205 | 8***9 | BOLT WITH GASKET | |
206 | 8***0 | HEXAGON FLANGE BOLT | |
207 | 8***1 | SHOCK ABSORBER | |
208 | 8***2 | SHOCK ABSORBER | |
209 | 8***6 | HEXAGON SOCKET SCREW | |
210 | 8***3 | GROUNDING WIRE | |
211 | 8***8 | TEMPERATURE SENSOR | |
212 | 8***2 | ECM | |
213 | 8***6 | PRESSURE SENSOR | |
214 | 8***6 | PARAMETER CARD |
Содержащиеся в справочниках-каталогах запасные части и детали не предлагаются к продаже, а носят исключительно информационный характер. В демо-версии артикулы (номера деталей) скрыты. Если вы хотите видеть полные оригинальные номера запчастей, вам необходимо зарегистрироваться на нашем сайте и приобрести подписку по интересующей вас конфигурации, после этого вы сможете встроить онлайн-каталоги на ваш сайт или пользоваться ими из личного кабинета нашего сайта. Обращаем ваше внимание на то, что каталоги содержат информацию об оригинальных заводских номерах и названиях запчастей. База по аналогам в данный момент не реализована. Поиска по VIN-номерам в онлайн-каталоге не предусмотрено. Выбор конкретного каталога осуществляется путем открытия нужного типа техники, марки, модели с учетом года выпуска или модификации.