Каталог запасных частей к технике: XCMG GR3005. 800164462 ENGINE

184
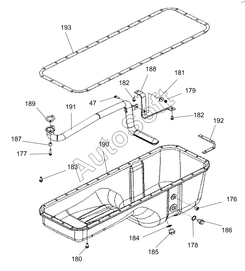
193
192
191
190
189
188
187
186
185
47
183
182
182
181
180
179
178
177
176
Позиция на иллюстрации | Заводской номер детали | Название детали | |
---|---|---|---|
47 | 8***1 | HEXAGON FLANGE BOLT | |
176 | 8***4 | SCREW PLUG | |
177 | 8***5 | HEXAGON FLANGE BOLT | |
178 | 8***5 | SEAL WASHER | |
179 | 8***1 | HEXAGON FLANGE BOLT | |
180 | 8***6 | HEXAGON FLANGE BOLT | |
181 | 8***3 | FLAT WASHER | |
182 | 8***0 | HEXAGON FLANGE BOLT | |
183 | 8***9 | HEXAGON FLANGE BOLT | |
184 | 8***6 | SCREW PLUG SEAL WASHER | |
185 | 8***6 | SCREW PLUG | |
186 | 8***7 | SCREW PLUG | |
187 | 8***8 | MOUNTING SPACER | |
188 | 8***9 | BRACKET | |
189 | 8***0 | OIL SUCTION PIPE GASKET | |
190 | 8***1 | PAN ASM | |
191 | 8***2 | ENGINE OIL SUCTION PIPE | |
192 | 8***3 | CLAMPING PLATE | |
193 | 8***3 | OIL SUMP SEALING GASKET |
Содержащиеся в справочниках-каталогах запасные части и детали не предлагаются к продаже, а носят исключительно информационный характер. В демо-версии артикулы (номера деталей) скрыты. Если вы хотите видеть полные оригинальные номера запчастей, вам необходимо зарегистрироваться на нашем сайте и приобрести подписку по интересующей вас конфигурации, после этого вы сможете встроить онлайн-каталоги на ваш сайт или пользоваться ими из личного кабинета нашего сайта. Обращаем ваше внимание на то, что каталоги содержат информацию об оригинальных заводских номерах и названиях запчастей. База по аналогам в данный момент не реализована. Поиска по VIN-номерам в онлайн-каталоге не предусмотрено. Выбор конкретного каталога осуществляется путем открытия нужного типа техники, марки, модели с учетом года выпуска или модификации.