Меню Закрыть

Демо

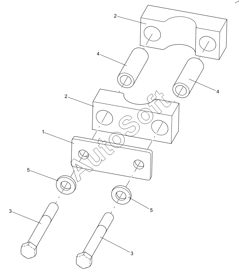
Каталог запасных частей к технике: XCMG XE800D (2021). 316100429 PIPE CLAMP ASSEMBLY

zoom-in zoom-out enlarge shrink circle-right circle-left file-text2 info cart
1
2
2
3
3
4
4
5
5
Позиция на иллюстрации Заводской номер детали Название детали
1 3***8 PRESSURE PLATE
2 3***7 PRESSURE PLATE
3 8***0 Bolt
4 3***9 SLEEVE PIPE
5 3***3 THICKENED FLAT WASHER
Содержащиеся в справочниках-каталогах запасные части и детали не предлагаются к продаже, а носят исключительно информационный характер. В демо-версии артикулы (номера деталей) скрыты. Если вы хотите видеть полные оригинальные номера запчастей, вам необходимо зарегистрироваться на нашем сайте и приобрести подписку по интересующей вас конфигурации, после этого вы сможете встроить онлайн-каталоги на ваш сайт или пользоваться ими из личного кабинета нашего сайта. Обращаем ваше внимание на то, что каталоги содержат информацию об оригинальных заводских номерах и названиях запчастей. База по аналогам в данный момент не реализована. Поиска по VIN-номерам в онлайн-каталоге не предусмотрено. Выбор конкретного каталога осуществляется путем открытия нужного типа техники, марки, модели с учетом года выпуска или модификации.