Каталог запасных частей к технике: XCMG XE800D (2021). 804009079 MAIN VALVE

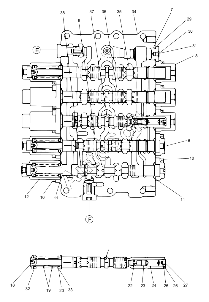
32
33
34
35
36
37
38
Позиция на иллюстрации | Заводской номер детали | Название детали | |
---|---|---|---|
32 | 8***5 | 3597-269 SHOCK INSULATOR | |
33 | 8***6 | 3590-598 SPRING | |
34 | 8***5 | VALVE | |
35 | 8***1 | VALVE CORE ASSEMBLYA18 | |
36 | 8***8 | VALVE CORE ASSEMBLYC14 | |
37 | 8***2 | VALVE CORE ASSEMBLYB27 | |
38 | 8***5 | 3611-603 VALVE CORE ASSEMBLYG |
Содержащиеся в справочниках-каталогах запасные части и детали не предлагаются к продаже, а носят исключительно информационный характер. В демо-версии артикулы (номера деталей) скрыты. Если вы хотите видеть полные оригинальные номера запчастей, вам необходимо зарегистрироваться на нашем сайте и приобрести подписку по интересующей вас конфигурации, после этого вы сможете встроить онлайн-каталоги на ваш сайт или пользоваться ими из личного кабинета нашего сайта. Обращаем ваше внимание на то, что каталоги содержат информацию об оригинальных заводских номерах и названиях запчастей. База по аналогам в данный момент не реализована. Поиска по VIN-номерам в онлайн-каталоге не предусмотрено. Выбор конкретного каталога осуществляется путем открытия нужного типа техники, марки, модели с учетом года выпуска или модификации.