Каталог запасных частей к технике: XCMG XE800D (2021). 804009079 MAIN VALVE

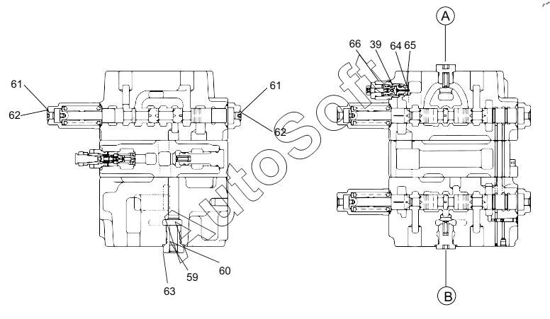
59
60
61
61
62
62
63
64
65
66
Позиция на иллюстрации | Заводской номер детали | Название детали | |
---|---|---|---|
59 | 8***6 | O-RING | |
60 | 8***7 | 0859-228 SUPPORT RING | |
61 | 8***4 | 0824-052 COVER | |
62 | 8***4 | O-Ring | |
63 | 8***1 | 3526-809 COVER | |
64 | 8***2 | 0859-233 SUPPORT RING | |
65 | 8***3 | 0207-005 ORING | |
66 | 8***4 | 3537-326 OVERFLOW VALVE ASSEMBLY |
Содержащиеся в справочниках-каталогах запасные части и детали не предлагаются к продаже, а носят исключительно информационный характер. В демо-версии артикулы (номера деталей) скрыты. Если вы хотите видеть полные оригинальные номера запчастей, вам необходимо зарегистрироваться на нашем сайте и приобрести подписку по интересующей вас конфигурации, после этого вы сможете встроить онлайн-каталоги на ваш сайт или пользоваться ими из личного кабинета нашего сайта. Обращаем ваше внимание на то, что каталоги содержат информацию об оригинальных заводских номерах и названиях запчастей. База по аналогам в данный момент не реализована. Поиска по VIN-номерам в онлайн-каталоге не предусмотрено. Выбор конкретного каталога осуществляется путем открытия нужного типа техники, марки, модели с учетом года выпуска или модификации.