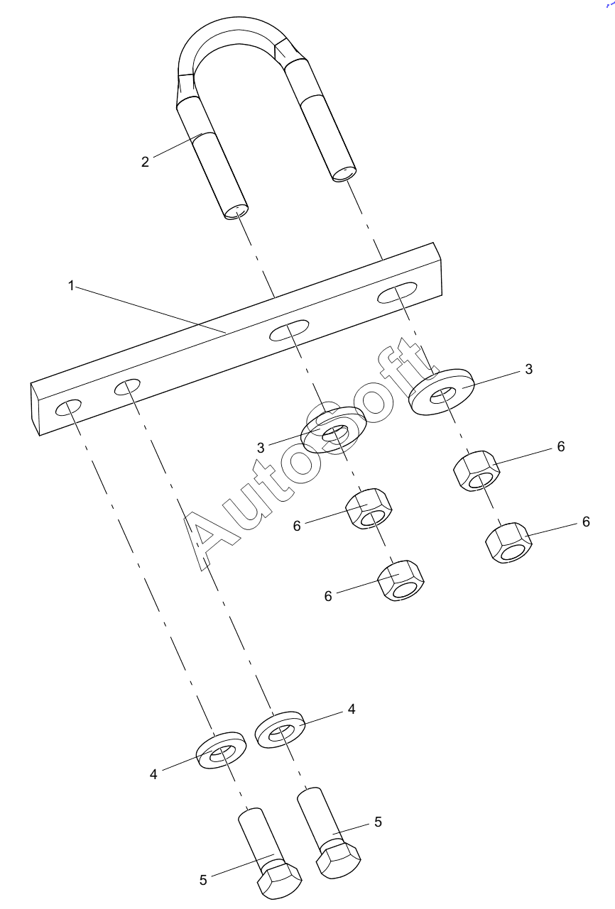
Каталог запасных частей к технике: XCMG XE800D (2021). 316102118 PIPE CLAMP ASSEMBLY

1
2
3
3
4
4
5
5
6
6
6
6
Позиция на иллюстрации | Заводской номер детали | Название детали | |
---|---|---|---|
1 | 3***8 | BRACKET | |
2 | 3***1 | U-SHAPED PIPE CLAMP | |
3 | 3***8 | THICKENED LARGE WASHER | |
4 | 3***3 | THICKENED FLAT WASHER | |
5 | 8***3 | BOLTM12x35 | |
6 | 8***2 | Washer |
Содержащиеся в справочниках-каталогах запасные части и детали не предлагаются к продаже, а носят исключительно информационный характер. В демо-версии артикулы (номера деталей) скрыты. Если вы хотите видеть полные оригинальные номера запчастей, вам необходимо зарегистрироваться на нашем сайте и приобрести подписку по интересующей вас конфигурации, после этого вы сможете встроить онлайн-каталоги на ваш сайт или пользоваться ими из личного кабинета нашего сайта. Обращаем ваше внимание на то, что каталоги содержат информацию об оригинальных заводских номерах и названиях запчастей. База по аналогам в данный момент не реализована. Поиска по VIN-номерам в онлайн-каталоге не предусмотрено. Выбор конкретного каталога осуществляется путем открытия нужного типа техники, марки, модели с учетом года выпуска или модификации.