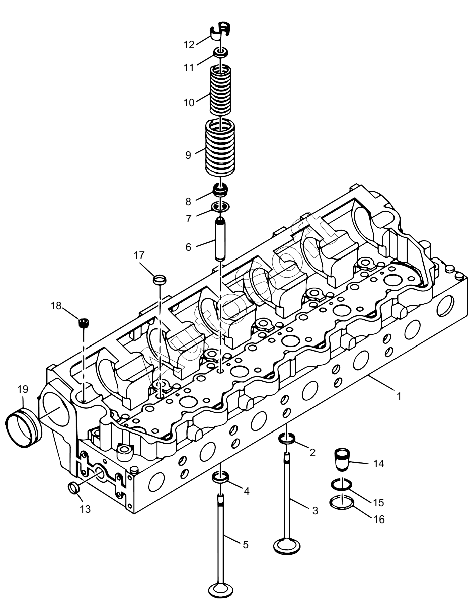
Каталог запасных частей к технике: XCMG XE800D (2021). 800169560 CYLINDER COVER

10
19
18
17
16
15
14
13
12
11
1
9
8
7
6
5
4
3
2
Позиция на иллюстрации | Заводской номер детали | Название детали | |
---|---|---|---|
1 | 8***3 | CYLINDER HEAD ASSEMBLY | |
2 | 8***8 | VALVE SEAT | |
3 | 8***5 | INTAKE AIR INTAKE VALVE | |
4 | 8***1 | VALVE SEAT | |
5 | 8***7 | EXHAUST VALVE | |
6 | 8***8 | PILOT VALVE | |
7 | 8***3 | WASHER | |
8 | 8***6 | SEALED VALVE ROD | |
9 | 8***2 | OUTER VALVE SPRING | |
10 | 8***8 | INNER VALVE SPRING | |
11 | 8***6 | SUPPORT | |
12 | 8***1 | VALVE KEY | |
13 | 8***4 | PLUG | |
14 | 8***5 | SLEEVE PIPE | |
15 | 8***6 | O-RING | |
16 | 8***5 | O-RING | |
17 | 8***7 | PLUG | |
18 | 8***3 | PLUG | |
19 | 8***5 | CAMSHAFT BUSHING |
Содержащиеся в справочниках-каталогах запасные части и детали не предлагаются к продаже, а носят исключительно информационный характер. В демо-версии артикулы (номера деталей) скрыты. Если вы хотите видеть полные оригинальные номера запчастей, вам необходимо зарегистрироваться на нашем сайте и приобрести подписку по интересующей вас конфигурации, после этого вы сможете встроить онлайн-каталоги на ваш сайт или пользоваться ими из личного кабинета нашего сайта. Обращаем ваше внимание на то, что каталоги содержат информацию об оригинальных заводских номерах и названиях запчастей. База по аналогам в данный момент не реализована. Поиска по VIN-номерам в онлайн-каталоге не предусмотрено. Выбор конкретного каталога осуществляется путем открытия нужного типа техники, марки, модели с учетом года выпуска или модификации.