Каталог запасных частей к технике: XCMG XE800D (2021). 316100747 FUEL TANK

10
18
18
17
17
16
15
14
13
13
13
13
12
11
1
9
8
7
7
6
5
5
5
5
4
3
2
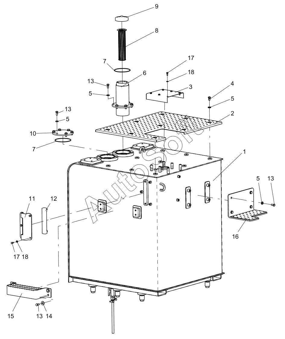
Позиция на иллюстрации | Заводской номер детали | Название детали | |
---|---|---|---|
1 | 3***8 | FUEL TANK BODY | |
2 | 3***3 | ANTI-SLIP PLATE | |
3 | 3***3 | GUARDING PLATE | |
4 | 8***5 | BOLT M12x20 (DACROMET) | |
5 | 3***3 | THICKENED FLAT WASHER | |
6 | 3***0 | OIL FILLER | |
7 | 8***4 | O-образное кольцо | |
8 | 8***4 | COARSE MESH FILTER | |
9 | 8***6 | FUEL TANK CAP LOCK | |
10 | 3***6 | FLAT | |
11 | 3***3 | GUARDING PLATE | |
12 | 8***1 | FUEL LEVEL GAUGE | |
13 | 8***9 | Болт | |
14 | 3***8 | THICKENED LARGE WASHER | |
15 | 3***0 | PEDAL ASSEMBLY | |
16 | 3***5 | ANTI-SLIP PLATE | |
17 | 8***8 | Болт | |
18 | 3***1 | THICKENED FLAT WASHER |
Содержащиеся в справочниках-каталогах запасные части и детали не предлагаются к продаже, а носят исключительно информационный характер. В демо-версии артикулы (номера деталей) скрыты. Если вы хотите видеть полные оригинальные номера запчастей, вам необходимо зарегистрироваться на нашем сайте и приобрести подписку по интересующей вас конфигурации, после этого вы сможете встроить онлайн-каталоги на ваш сайт или пользоваться ими из личного кабинета нашего сайта. Обращаем ваше внимание на то, что каталоги содержат информацию об оригинальных заводских номерах и названиях запчастей. База по аналогам в данный момент не реализована. Поиска по VIN-номерам в онлайн-каталоге не предусмотрено. Выбор конкретного каталога осуществляется путем открытия нужного типа техники, марки, модели с учетом года выпуска или модификации.