Каталог запасных частей к технике: XCMG ZL50GN. 252114040 ENGINE ASSEMBLY

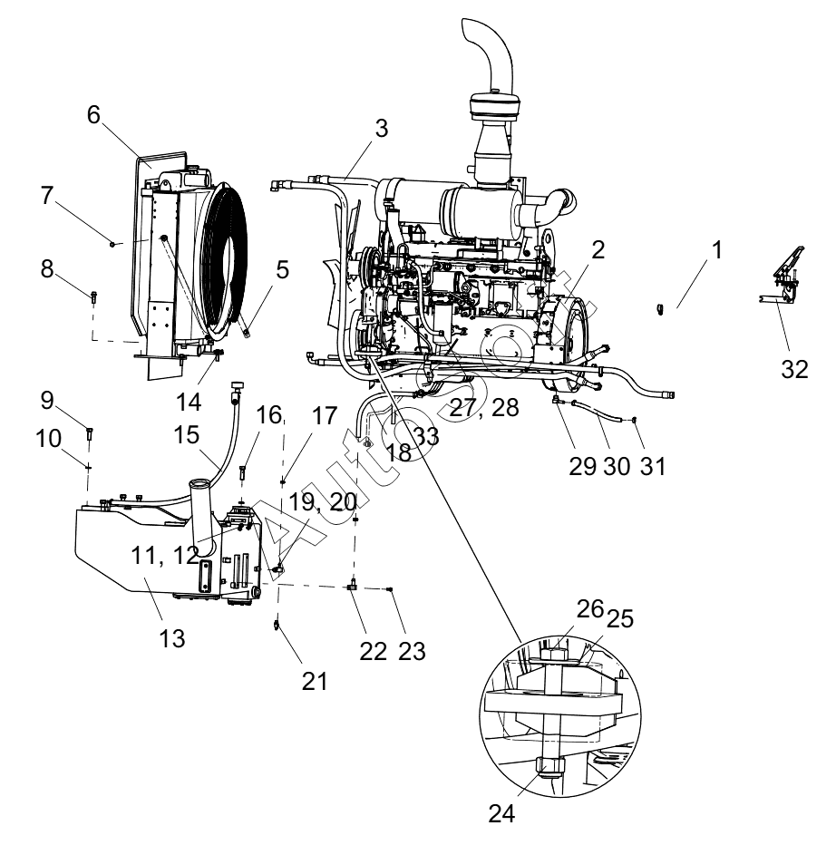
17
32
31
30
29
28
27
26
25
24
23
22
21
20
19
18
1
16
15
14
13
12
11
10
9
8
7
6
5
3
2
Позиция на иллюстрации | Заводской номер детали | Название детали | |
---|---|---|---|
1 | 2***2 | HYDRAULIC OIL RADIATOR PIPELINE | |
2 | 8***9 | ENGINE | |
3 | 2***1 | DOUBLE VARIABLE OIL DISPERSION LINE | |
4 | 8***9 | HOSE B10x800 | |
5 | 8***9 | Болт М12x30 | |
6 | 8***1 | RADIATOR ASSEMBLY | |
7 | 8***4 | Bolt | |
8 | 8***5 | BOLT M16x50 | |
9 | 8***2 | SLEEVE, SCREW, ANDNUT SUB-ASSY METRIC M20x1.5x55 | |
10 | 8***3 | Шайба 20 | |
11 | 8***6 | Карман для карт d.18 | |
12 | 8***7 | Болт М8x12 | |
13 | 2***6 | FUEL TANK ASSY | |
14 | 2***8 | Соединение | |
15 | 8***5 | HOSE B16x1400 | |
16 | 8***2 | SLEEVE, SCREW, ANDNUT SUB-ASSY METRIC M20x1.5x65 | |
17 | 8***5 | Stainless bracelet | |
18 | 8***5 | Резиновая труба | |
19 | 2***4 | Соединение | |
20 | 8***5 | BOLT M10x16 (DACROMET) | |
21 | 8***4 | Valve | |
22 | 2***4 | SPLICE | |
23 | 8***0 | Болт М10x20 | |
24 | 8***1 | Гайка | |
25 | 8***2 | Шайба 20 | |
26 | 8***6 | BOLT M20x140 | |
27 | 2***6 | Шайба | |
28 | 2***6 | COMPRESSOR AIR OUTLET PIPE | |
29 | 2***2 | Прямое соединение | |
30 | 2***5 | Гибкий рукав | |
31 | 8***4 | Хомут из нержавейки | |
32 | 2***2 | Управление газом |
Содержащиеся в справочниках-каталогах запасные части и детали не предлагаются к продаже, а носят исключительно информационный характер. В демо-версии артикулы (номера деталей) скрыты. Если вы хотите видеть полные оригинальные номера запчастей, вам необходимо зарегистрироваться на нашем сайте и приобрести подписку по интересующей вас конфигурации, после этого вы сможете встроить онлайн-каталоги на ваш сайт или пользоваться ими из личного кабинета нашего сайта. Обращаем ваше внимание на то, что каталоги содержат информацию об оригинальных заводских номерах и названиях запчастей. База по аналогам в данный момент не реализована. Поиска по VIN-номерам в онлайн-каталоге не предусмотрено. Выбор конкретного каталога осуществляется путем открытия нужного типа техники, марки, модели с учетом года выпуска или модификации.