Каталог запасных частей к технике: XCMG XE215C. 310703529 FUEL TANK

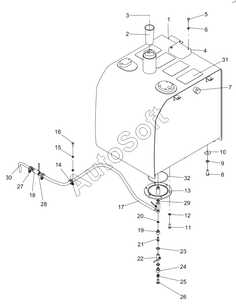
17
32
31
30
29
28
27
26
25
24
23
22
21
20
19
18
1
16
15
14
13
12
11
10
9
8
7
6
5
4
3
2
Позиция на иллюстрации | Заводской номер детали | Название детали | |
---|---|---|---|
1 | 3***4 | TANK BODY | |
2 | 8***4 | Фильтрующая сетка | |
3 | 8***3 | Крышка замка маслобака | |
4 | 3***3 | Plate | |
5 | 8***4 | Болт | |
6 | 8***7 | WASHER 8 | |
7 | 8***9 | PLUG | |
8 | 8***2 | Болт | |
9 | 8***5 | Washer | |
10 | 3***7 | Washer | |
11 | 8***0 | Bolt | |
12 | 8***9 | Washer | |
13 | 3***8 | FLANGE END CAP | |
14 | 8***8 | Clamp | |
15 | 8***9 | Washer | |
16 | 8***3 | Bolt | |
17 | 8***4 | DIESEL PIPE | |
18 | 8***1 | Valve | |
19 | 3***0 | Adapter | |
20 | 8***4 | Шайба 14 | |
21 | 8***8 | ARTICULATED BOLT M14x1.5x26 | |
22 | 8***2 | Valve | |
23 | 8***2 | Washer | |
24 | 3***6 | CONNECTOR | |
25 | 8***6 | Washer | |
26 | 8***0 | ARTICULATED BOLT M16x1.5x28.5 | |
27 | 8***8 | Clamp | |
28 | 8***0 | JOINT | |
29 | 8***4 | Washer | |
30 | 3***9 | DIESEL PIPE | |
31 | 3***0 | ANTI-SKID SHEET | |
32 | 8***1 | O-образное кольцо |
Содержащиеся в справочниках-каталогах запасные части и детали не предлагаются к продаже, а носят исключительно информационный характер. В демо-версии артикулы (номера деталей) скрыты. Если вы хотите видеть полные оригинальные номера запчастей, вам необходимо зарегистрироваться на нашем сайте и приобрести подписку по интересующей вас конфигурации, после этого вы сможете встроить онлайн-каталоги на ваш сайт или пользоваться ими из личного кабинета нашего сайта. Обращаем ваше внимание на то, что каталоги содержат информацию об оригинальных заводских номерах и названиях запчастей. База по аналогам в данный момент не реализована. Поиска по VIN-номерам в онлайн-каталоге не предусмотрено. Выбор конкретного каталога осуществляется путем открытия нужного типа техники, марки, модели с учетом года выпуска или модификации.