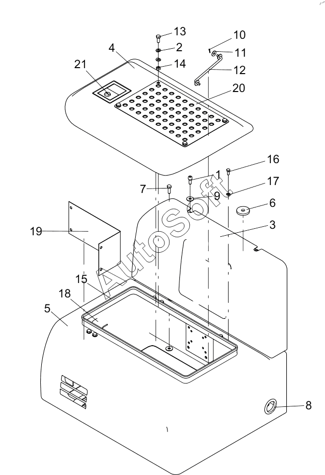
Каталог запасных частей к технике: XCMG XE215C. 310703537 TOOLBOX ASSY

11
21
20
19
18
17
16
15
14
13
12
1
10
9
8
7
6
5
4
3
2
Позиция на иллюстрации | Заводской номер детали | Название детали | |
---|---|---|---|
1 | 8***8 | Bolt | |
2 | 8***9 | Washer | |
3 | 3***0 | UPPER BOX | |
4 | 3***7 | COVER PLATE | |
5 | 3***9 | LOWER TOOLBOX BODY | |
6 | 3***6 | PAD | |
7 | 8***6 | Bolt | |
8 | 3***8 | HOSE COVER | |
9 | 8***8 | Шайба | |
10 | 8***3 | PIN 2.5x14 | |
11 | 8***6 | Шайба | |
12 | 3***8 | PULL ROD SUBASSEMBLY | |
13 | 8***0 | Bolt | |
14 | 8***1 | Nut | |
15 | 8***9 | Резиная лента | |
16 | 8***8 | Болт | |
17 | 8***7 | WASHER 8 | |
18 | 3***5 | LOCK TONGUE | |
19 | 3***4 | BAFFLE PLATE | |
20 | 3***3 | ANTI-SKID PLATE | |
21 | 8***1 | TOOLBOX LOCK |
Содержащиеся в справочниках-каталогах запасные части и детали не предлагаются к продаже, а носят исключительно информационный характер. В демо-версии артикулы (номера деталей) скрыты. Если вы хотите видеть полные оригинальные номера запчастей, вам необходимо зарегистрироваться на нашем сайте и приобрести подписку по интересующей вас конфигурации, после этого вы сможете встроить онлайн-каталоги на ваш сайт или пользоваться ими из личного кабинета нашего сайта. Обращаем ваше внимание на то, что каталоги содержат информацию об оригинальных заводских номерах и названиях запчастей. База по аналогам в данный момент не реализована. Поиска по VIN-номерам в онлайн-каталоге не предусмотрено. Выбор конкретного каталога осуществляется путем открытия нужного типа техники, марки, модели с учетом года выпуска или модификации.