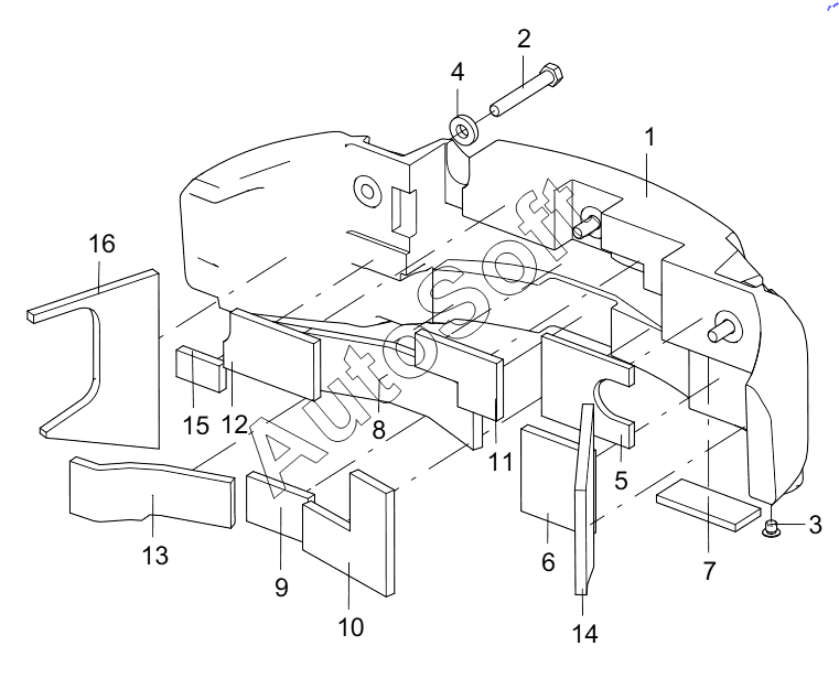
Каталог запасных частей к технике: XCMG XE27U (2012). 310203096 COUNTERWEIGHT ASSEMBLY

1
2
3
4
5
6
7
8
9
10
11
12
13
14
15
16
Позиция на иллюстрации | Заводской номер детали | Название детали | |
---|---|---|---|
1 | 3***3 | COUNTERWEIGHT | |
2 | 8***8 | BOLT M24x160 | |
3 | 3***7 | PLUG | |
4 | 3***8 | CUSHION COVER | |
5 | 3***4 | SPONGE | |
6 | 3***6 | SPONGE | |
7 | 3***2 | SPONGE | |
8 | 3***9 | SPONGE | |
9 | 3***8 | SPONGE | |
10 | 3***0 | SPONGE | |
11 | 3***1 | SPONGE | |
12 | 3***7 | SPONGE | |
13 | 3***5 | SPONGE | |
14 | 3***2 | SPONGE | |
15 | 3***3 | SPONGE | |
16 | 3***6 | SPONGE |
Содержащиеся в справочниках-каталогах запасные части и детали не предлагаются к продаже, а носят исключительно информационный характер. В демо-версии артикулы (номера деталей) скрыты. Если вы хотите видеть полные оригинальные номера запчастей, вам необходимо зарегистрироваться на нашем сайте и приобрести подписку по интересующей вас конфигурации, после этого вы сможете встроить онлайн-каталоги на ваш сайт или пользоваться ими из личного кабинета нашего сайта. Обращаем ваше внимание на то, что каталоги содержат информацию об оригинальных заводских номерах и названиях запчастей. База по аналогам в данный момент не реализована. Поиска по VIN-номерам в онлайн-каталоге не предусмотрено. Выбор конкретного каталога осуществляется путем открытия нужного типа техники, марки, модели с учетом года выпуска или модификации.