Каталог запасных частей к технике: XCMG XE27U (2012). 310203846 HYDRAULIC SYSTEM - UNDERCARRIAGE

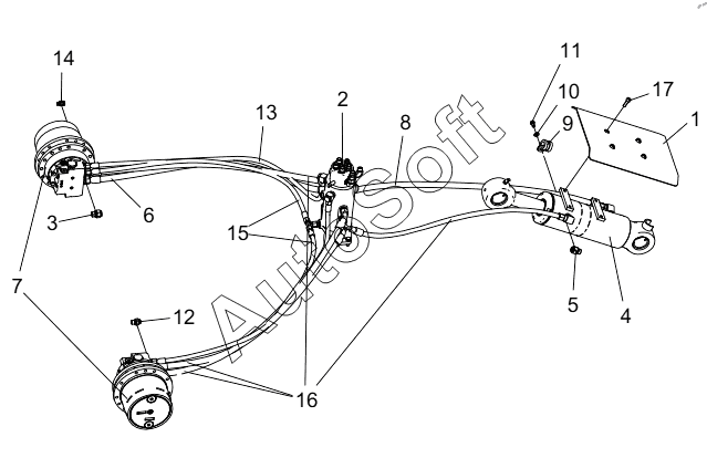
9
17
16
15
14
13
12
11
10
1
8
7
6
5
4
3
2
Позиция на иллюстрации | Заводской номер детали | Название детали | |
---|---|---|---|
1 | 3***1 | CYLINDER GUARD ASSEMBLY | |
2 | 3***8 | SWIVEL ASSEMBLY | |
3 | 8***8 | JOINT | |
4 | 8***0 | DOZER BLADE CYLINDER | |
5 | 8***3 | JOINT | |
6 | 8***9 | HOSE | |
7 | 8***2 | TRAVEL MOTOR | |
8 | 8***2 | HOSE | |
9 | 8***8 | Clamp | |
10 | 8***9 | Шайба 8 | |
11 | 8***4 | Болт | |
12 | 8***9 | JOINT | |
13 | 8***5 | HOSE | |
14 | 8***7 | JOINT | |
15 | 8***2 | HOSE | |
16 | 8***6 | HOSE | |
17 | 8***3 | SCREW M8x25 |
Содержащиеся в справочниках-каталогах запасные части и детали не предлагаются к продаже, а носят исключительно информационный характер. В демо-версии артикулы (номера деталей) скрыты. Если вы хотите видеть полные оригинальные номера запчастей, вам необходимо зарегистрироваться на нашем сайте и приобрести подписку по интересующей вас конфигурации, после этого вы сможете встроить онлайн-каталоги на ваш сайт или пользоваться ими из личного кабинета нашего сайта. Обращаем ваше внимание на то, что каталоги содержат информацию об оригинальных заводских номерах и названиях запчастей. База по аналогам в данный момент не реализована. Поиска по VIN-номерам в онлайн-каталоге не предусмотрено. Выбор конкретного каталога осуществляется путем открытия нужного типа техники, марки, модели с учетом года выпуска или модификации.