Каталог запасных частей к технике: XCMG XE27U (2012). 310203434 EQUIPMENT

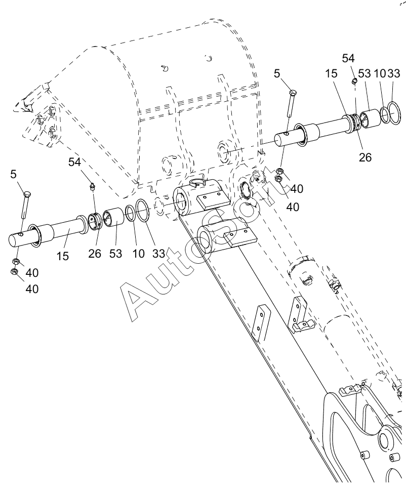
5
5
10
10
15
15
26
26
33
33
40
40
40
40
53
53
54
54
Позиция на иллюстрации | Заводской номер детали | Название детали | |
---|---|---|---|
5 | 8***4 | BOLT M10x75 (DACROMET) | |
10 | 3***7 | DUSTPROOF WASHER | |
15 | 3***8 | SHAFT ASSEMBLY | |
26 | 3***1 | SPACER | |
33 | 3***1 | O-RING | |
40 | 8***1 | Nut | |
53 | 3***9 | BEARING | |
54 | 8***6 | Масленка M10x1 |
Содержащиеся в справочниках-каталогах запасные части и детали не предлагаются к продаже, а носят исключительно информационный характер. В демо-версии артикулы (номера деталей) скрыты. Если вы хотите видеть полные оригинальные номера запчастей, вам необходимо зарегистрироваться на нашем сайте и приобрести подписку по интересующей вас конфигурации, после этого вы сможете встроить онлайн-каталоги на ваш сайт или пользоваться ими из личного кабинета нашего сайта. Обращаем ваше внимание на то, что каталоги содержат информацию об оригинальных заводских номерах и названиях запчастей. База по аналогам в данный момент не реализована. Поиска по VIN-номерам в онлайн-каталоге не предусмотрено. Выбор конкретного каталога осуществляется путем открытия нужного типа техники, марки, модели с учетом года выпуска или модификации.