Каталог запасных частей к технике: XCMG XC958. 253804261 FLOW AMPLIFYING VALVE ASSY

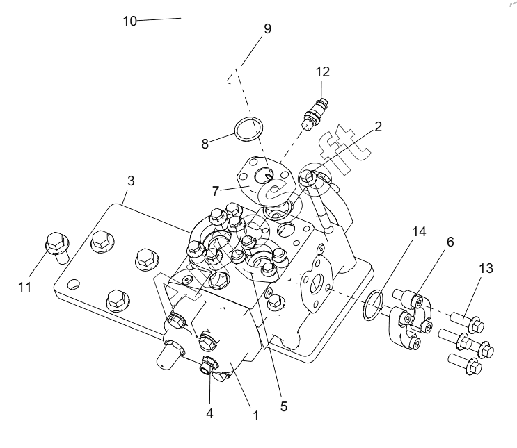
1
2
3
4
5
6
7
8
9
10
11
12
13
14
Позиция на иллюстрации | Заводской номер детали | Название детали | |
---|---|---|---|
1 | 8***1 | PRIORITY-BASED FLOW AMPLIFYING VALVE | |
2 | 8***8 | BOLT M12x110 | |
3 | 2***0 | CHECKING SHEET | |
4 | 8***1 | CONNECTOR | |
5 | 2***9 | FLANGE | |
6 | 8***6 | Фланец типа отделения | |
7 | 2***6 | PRESSURE MEASUREMENT FLANGE | |
8 | 8***7 | ORING32.92x3.53 | |
9 | 8***4 | Блок фланцев | |
10 | 8***0 | Болт М10x60 | |
11 | 8***3 | SLEEVE, SCREW, ANDNUT SUB-ASSY METRIC M16x35 | |
12 | 8***4 | CONNECTOR | |
13 | 8***9 | Болт М12x30 | |
14 | 8***0 | ORING37.69x3.53 |
Содержащиеся в справочниках-каталогах запасные части и детали не предлагаются к продаже, а носят исключительно информационный характер. В демо-версии артикулы (номера деталей) скрыты. Если вы хотите видеть полные оригинальные номера запчастей, вам необходимо зарегистрироваться на нашем сайте и приобрести подписку по интересующей вас конфигурации, после этого вы сможете встроить онлайн-каталоги на ваш сайт или пользоваться ими из личного кабинета нашего сайта. Обращаем ваше внимание на то, что каталоги содержат информацию об оригинальных заводских номерах и названиях запчастей. База по аналогам в данный момент не реализована. Поиска по VIN-номерам в онлайн-каталоге не предусмотрено. Выбор конкретного каталога осуществляется путем открытия нужного типа техники, марки, модели с учетом года выпуска или модификации.