Каталог запасных частей к технике: XCMG LW300KN (2023). 252611374 REAR FRAME ELECTRIC SYSTEM

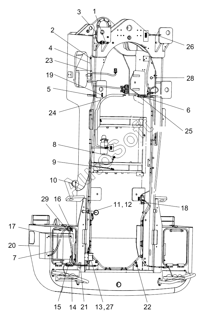
15
29
28
27
26
25
24
23
22
21
20
19
18
17
16
1
14
13
12
11
10
9
8
7
6
5
4
3
2
Позиция на иллюстрации | Заводской номер детали | Название детали | |
---|---|---|---|
1 | 8***6 | DELPHI LOCATING BRACKET | |
2 | 8***5 | CUTTING SLEEVE d16 | |
3 | 8***7 | BRAKE LAMP SWITCH | |
4 | 2***3 | REAR FRAME HARNESS | |
5 | 8***4 | CUTTING SLEEVE d35 | |
6 | 8***8 | VDO TEMPERATURE SENSOR (DECHI PLUG-IN) | |
7 | 8***8 | BATTERY CABLE | |
8 | 8***7 | VDO TEMPERATURE SENSOR (DECHI PLUG-IN) | |
9 | 8***2 | PRESSURE SWITCH | |
10 | 8***9 | AIR PRESSURE SENSOR | |
11 | 8***3 | FUEL SENSOR (DECHI PLUG-IN) | |
12 | 8***7 | DECHI SMALL BRACKET | |
13 | 8***4 | Сигнализатор заднего хода | |
14 | 8***9 | TAIL COMBINATION LAMP | |
15 | 8***1 | BATTERY CABLE | |
16 | 8***9 | Выключатель отрицательного полюса аккумулятора | |
17 | 8***3 | Проводка аккумулятора | |
18 | 8***9 | BATTERY CABLE | |
19 | 2***4 | CAB HARNESS SEALING ASSEMBLY | |
20 | 8***9 | BATTERY | |
21 | 8***0 | RUBBER JACKET | |
22 | 8***8 | FERRULE d24 | |
23 | 8***8 | CONNECTOR CABLE TIE 4.8x190 | |
24 | 8***0 | BATTERY CABLE | |
25 | 8***7 | PRESSURE SWITCH | |
26 | 8***8 | BATTERY CABLE | |
27 | 2***1 | HARNESS | |
28 | 8***9 | PRESSURE SWITCH | |
29 | 8***9 | Battery cable |
Содержащиеся в справочниках-каталогах запасные части и детали не предлагаются к продаже, а носят исключительно информационный характер. В демо-версии артикулы (номера деталей) скрыты. Если вы хотите видеть полные оригинальные номера запчастей, вам необходимо зарегистрироваться на нашем сайте и приобрести подписку по интересующей вас конфигурации, после этого вы сможете встроить онлайн-каталоги на ваш сайт или пользоваться ими из личного кабинета нашего сайта. Обращаем ваше внимание на то, что каталоги содержат информацию об оригинальных заводских номерах и названиях запчастей. База по аналогам в данный момент не реализована. Поиска по VIN-номерам в онлайн-каталоге не предусмотрено. Выбор конкретного каталога осуществляется путем открытия нужного типа техники, марки, модели с учетом года выпуска или модификации.