Каталог запасных частей к технике: XCMG LW300KN (2023). 252612117 TRANSMISSION SYSTEM

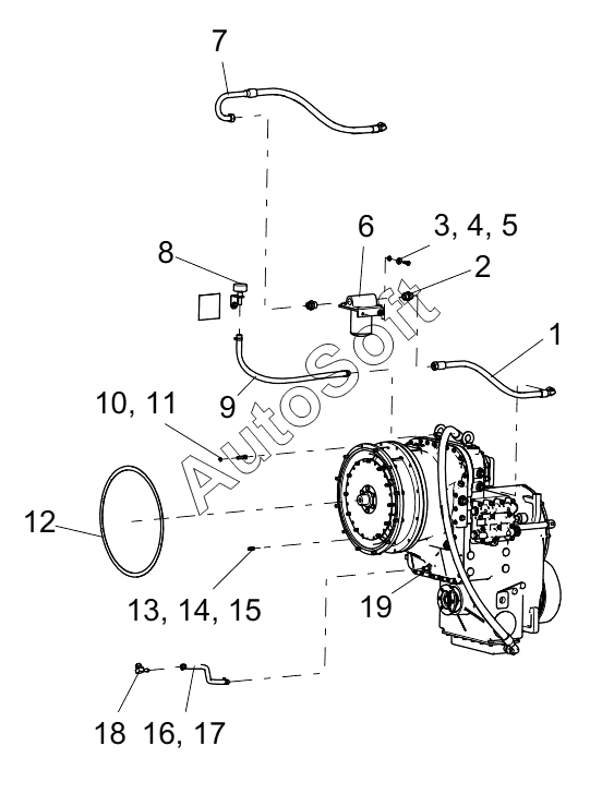
10
19
18
17
16
15
14
13
12
11
1
9
8
7
6
5
4
3
2
Позиция на иллюстрации | Заводской номер детали | Название детали | |
---|---|---|---|
1 | 2***2 | Резиновая труба в сборе | |
2 | 8***6 | Соединение | |
3 | 8***7 | Шайба | |
4 | 8***7 | BOLT M10x35 | |
5 | 8***3 | Гайка М10 | |
6 | 8***3 | FILTER | |
7 | 8***3 | HOSE ASSEMBLY | |
8 | 2***7 | Блок респиранта | |
9 | 8***4 | Резиновая труба | |
10 | 8***8 | Шайба 12 | |
11 | 8***4 | Болт M12x45 | |
12 | 2***2 | Прокладка | |
13 | 8***0 | Гайка M10x1 | |
14 | 8***4 | Шайба 10 | |
15 | 8***6 | Шпилька AM10x1x20 | |
16 | 8***3 | Резиновая труба B13x450 | |
17 | 8***4 | Хомут из нержавейки | |
18 | 2***2 | Прямое соединение | |
19 | 2***4 | ZL50 transmission |
Содержащиеся в справочниках-каталогах запасные части и детали не предлагаются к продаже, а носят исключительно информационный характер. В демо-версии артикулы (номера деталей) скрыты. Если вы хотите видеть полные оригинальные номера запчастей, вам необходимо зарегистрироваться на нашем сайте и приобрести подписку по интересующей вас конфигурации, после этого вы сможете встроить онлайн-каталоги на ваш сайт или пользоваться ими из личного кабинета нашего сайта. Обращаем ваше внимание на то, что каталоги содержат информацию об оригинальных заводских номерах и названиях запчастей. База по аналогам в данный момент не реализована. Поиска по VIN-номерам в онлайн-каталоге не предусмотрено. Выбор конкретного каталога осуществляется путем открытия нужного типа техники, марки, модели с учетом года выпуска или модификации.