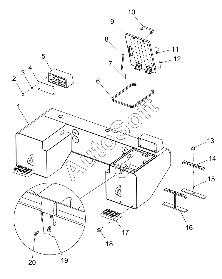
Каталог запасных частей к технике: XCMG LW300KN (2023). 252615239 COUNTERWEIGHT

11
20
19
18
17
16
15
14
13
12
1
10
9
8
7
6
5
4
3
2
Позиция на иллюстрации | Заводской номер детали | Название детали | |
---|---|---|---|
1 | 2***0 | COUNTERWEIGHT | |
2 | 8***0 | SLEEVE,SCREW, AND NUT SUB-ASSY METRIC M5x12 | |
3 | 8***9 | Шайба 5 | |
4 | 2***2 | Перекрытие за фанарем | |
5 | 2***8 | Опора фары | |
6 | 2***0 | JT-05B SEALING STRIP L=1950 | |
7 | 8***9 | Pin | |
8 | 2***4 | Упорный стержень | |
9 | 2***3 | LEFT TANK COVER | |
10 | 2***8 | Поручень | |
11 | 8***3 | Гайка М10 | |
12 | 8***5 | Болт | |
13 | 8***6 | Гайка М12 | |
14 | 2***2 | RETAINER FLEX-PLATE | |
15 | 2***1 | CABLE | |
16 | 2***3 | CUSHION | |
17 | 2***7 | PEDAL | |
18 | 8***4 | Bolt | |
19 | 2***4 | LOCK NBS1013 | |
20 | 8***6 | Nut |
Содержащиеся в справочниках-каталогах запасные части и детали не предлагаются к продаже, а носят исключительно информационный характер. В демо-версии артикулы (номера деталей) скрыты. Если вы хотите видеть полные оригинальные номера запчастей, вам необходимо зарегистрироваться на нашем сайте и приобрести подписку по интересующей вас конфигурации, после этого вы сможете встроить онлайн-каталоги на ваш сайт или пользоваться ими из личного кабинета нашего сайта. Обращаем ваше внимание на то, что каталоги содержат информацию об оригинальных заводских номерах и названиях запчастей. База по аналогам в данный момент не реализована. Поиска по VIN-номерам в онлайн-каталоге не предусмотрено. Выбор конкретного каталога осуществляется путем открытия нужного типа техники, марки, модели с учетом года выпуска или модификации.