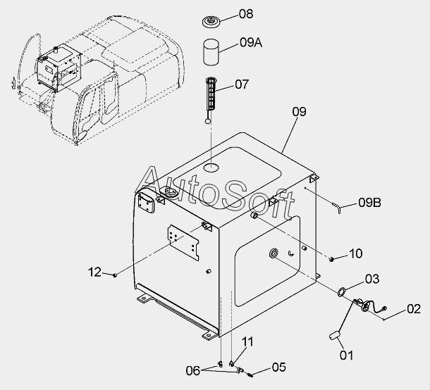
Каталог запасных частей к технике: Hitachi ZX-330-3 (Part № PIHH-I-3) (2008). FUEL TANK
01
02
03
05
06
07
07A
07A
07B
07B
08
08A
08A
09
09A
09B
10
11
12
| Позиция на иллюстрации | Заводской номер детали | Название детали | |
|---|---|---|---|
| 01 | 4***8 | FLOAT | |
| 02 | J***0 | SCREW, SEMS | |
| 03 | 4***7 | PACKING | |
| 05 | 4***2 | ADAPTER | |
| 06 | 4***8 | VALVE BALL | |
| 07 | 4***0 | STRAINER | |
| 07A | 4***9 | STRAINER | |
| 07B | 4***0 | FLOAT | |
| 08 | 4***8 | CAP | |
| 08A | 4***0 | PACKING, RUBBER | |
| 09 | 5***0 | TANK FUEL | |
| 09A | 4***7 | TUBE | |
| 09B | 4***7 | PIPE | |
| 10 | 9***4 | PLUG | |
| 11 | 4***7 | ELBOW | |
| 12 | 4***5 | PLUG |
Содержащиеся в справочниках-каталогах запасные части и детали не предлагаются к продаже, а носят исключительно информационный характер. В демо-версии артикулы (номера деталей) скрыты. Если вы хотите видеть полные оригинальные номера запчастей, вам необходимо зарегистрироваться на нашем сайте и приобрести подписку по интересующей вас конфигурации, после этого вы сможете встроить онлайн-каталоги на ваш сайт или пользоваться ими из личного кабинета нашего сайта. Обращаем ваше внимание на то, что каталоги содержат информацию об оригинальных заводских номерах и названиях запчастей. База по аналогам в данный момент не реализована. Поиска по VIN-номерам в онлайн-каталоге не предусмотрено. Выбор конкретного каталога осуществляется путем открытия нужного типа техники, марки, модели с учетом года выпуска или модификации.