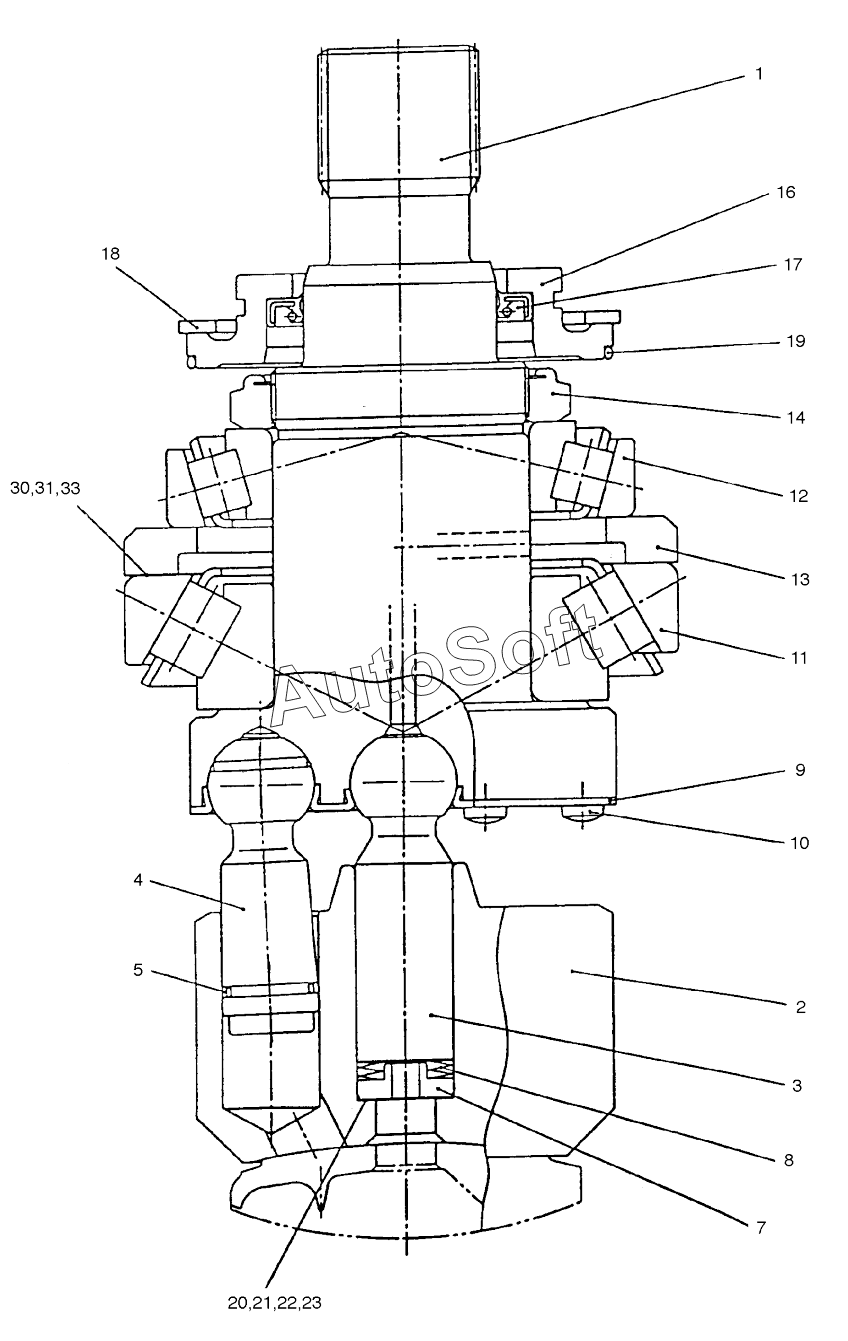
Каталог запасных частей к технике: Doosan SOLAR 130W-V(1) (2017). ROTARY GROUP
12
33
31
30
23
22
21
20
19
18
17
16
14
13
4100353967
11
10
9
8
7
5
4
3
2
1
| Позиция на иллюстрации | Заводской номер детали | Название детали | |
|---|---|---|---|
| 4100353967 | 4***7 | Group, rotary | |
| 1 | 1***5 | Shaft | |
| 2 | 1***1 | Block, cylinder | |
| 3 | 1***9 | Pin, center | |
| 4 | 1***1 | Piston | |
| 5 | 1***1 | Ring, piston | |
| 5 | 1***8 | Ring, piston | |
| 7 | 1***9 | Spring, collar | |
| 8 | 1***9 | Spring, cup | |
| 9 | 1***4 | Plate | |
| 9 | 1***9 | Plate | |
| 10 | 1***7 | Bolt, socket | |
| 11 | 1***6 | Bearing | |
| 12 | 1***2 | Bearing | |
| 13 | 1***4 | Piece, distance | |
| 14 | 1***3 | Nut | |
| 16 | 1***7 | Case, seal | |
| 17 | 1***4 | Seal, oil | |
| 18 | 1***9 | Ring | |
| 19 | 1***3 | O-ring | |
| 20 | 1***8 | Shim | |
| 21 | 1***7 | Shim | |
| 22 | 1***6 | Shim | |
| 23 | 1***3 | Shim | |
| 30 | 1***1 | Shim | |
| 31 | 1***9 | Shim | |
| 33 | 1***3 | Shim |
Содержащиеся в справочниках-каталогах запасные части и детали не предлагаются к продаже, а носят исключительно информационный характер. В демо-версии артикулы (номера деталей) скрыты. Если вы хотите видеть полные оригинальные номера запчастей, вам необходимо зарегистрироваться на нашем сайте и приобрести подписку по интересующей вас конфигурации, после этого вы сможете встроить онлайн-каталоги на ваш сайт или пользоваться ими из личного кабинета нашего сайта. Обращаем ваше внимание на то, что каталоги содержат информацию об оригинальных заводских номерах и названиях запчастей. База по аналогам в данный момент не реализована. Поиска по VIN-номерам в онлайн-каталоге не предусмотрено. Выбор конкретного каталога осуществляется путем открытия нужного типа техники, марки, модели с учетом года выпуска или модификации.