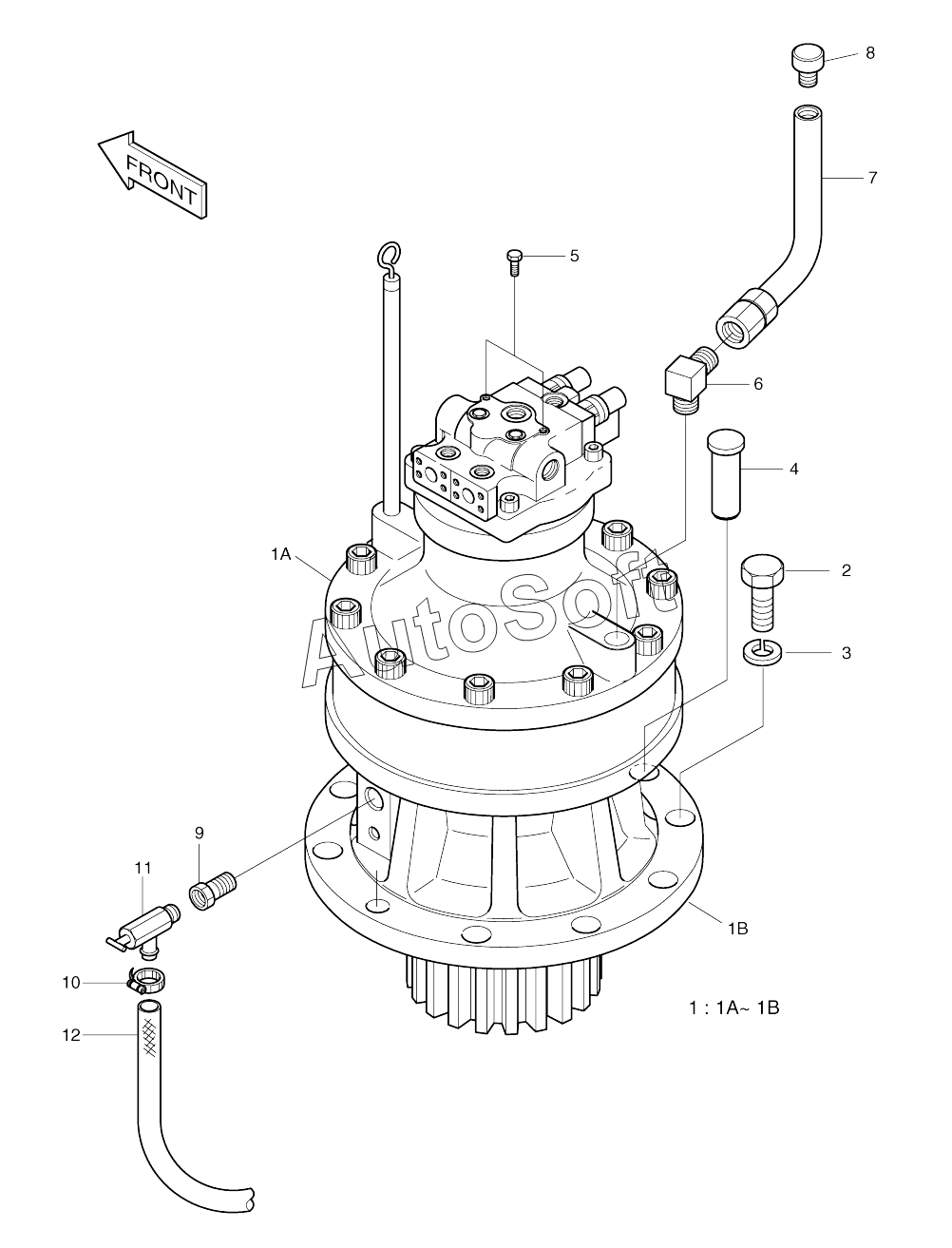
Каталог запасных частей к технике: Doosan SOLAR 130W-V(1) (2017). SWING DEVICE (1-700)
2401-1228A
1
1A
1A
1B
1B
2
3
4
5
6
7
8
9
10
11
12
| Позиция на иллюстрации | Заводской номер детали | Название детали | |
|---|---|---|---|
| 2401-1228A | 2***A | Swing device assy | |
| 1 | 2***A | Swing device | |
| 10 | S***6 | CLAMP;HOSE | |
| 11 | 2***1 | Cock | |
| 12 | 2***6 | Hose, vinyl | |
| 1A | 3***1 | Swing motor | |
| 1B | 6***7 | Reduction gear | |
| 2 | S***1 | Bolt | |
| 3 | S***1 | WASHER;SPRING | |
| 4 | 2***8 | PIN;LOCK | |
| 5 | S***3 | BOLT M10X1.5X16 | |
| 6 | 2***3 | ELBOW | |
| 7 | 2***4 | Pipe | |
| 7 | 2***B | PIPE | |
| 8 | 2***A | CAP;PIPE | |
| 9 | 2***2 | REDUCER PT1/2XPT3/8 |
Содержащиеся в справочниках-каталогах запасные части и детали не предлагаются к продаже, а носят исключительно информационный характер. В демо-версии артикулы (номера деталей) скрыты. Если вы хотите видеть полные оригинальные номера запчастей, вам необходимо зарегистрироваться на нашем сайте и приобрести подписку по интересующей вас конфигурации, после этого вы сможете встроить онлайн-каталоги на ваш сайт или пользоваться ими из личного кабинета нашего сайта. Обращаем ваше внимание на то, что каталоги содержат информацию об оригинальных заводских номерах и названиях запчастей. База по аналогам в данный момент не реализована. Поиска по VIN-номерам в онлайн-каталоге не предусмотрено. Выбор конкретного каталога осуществляется путем открытия нужного типа техники, марки, модели с учетом года выпуска или модификации.