Каталог запасных частей к технике: Doosan SOLAR 160W-V (2017). DIFFERENTIAL-REAR AXLE
14
28
27
26
26
25
25
24
23
21
20
19
18
15
15
15
15
14
1
1
14
14
13
13
12
11
10
9
9
8
8
7
7
7
7
6
6
6
6
5
5
5
5
4
4
4
4
3
3
2
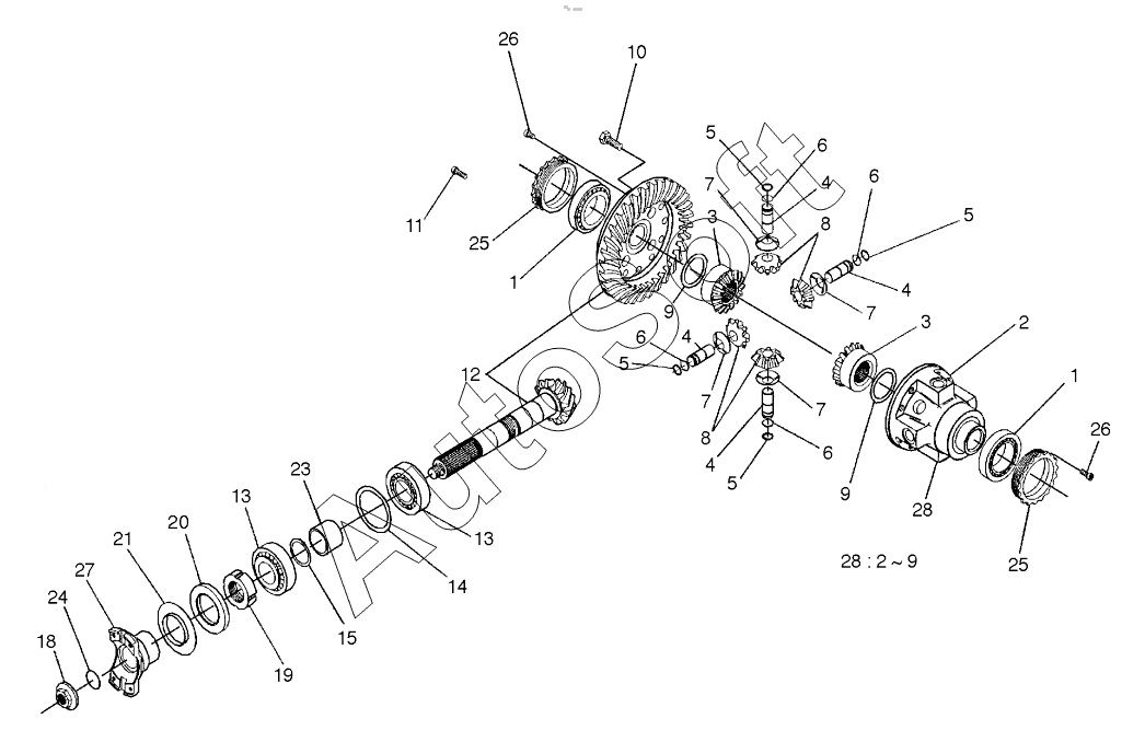
| Позиция на иллюстрации | Заводской номер детали | Название детали | |
|---|---|---|---|
| 1 | 0***9 | Bearing, taper roller | |
| 2 | 1***4 | Carrier, differential | |
| 3 | 1***1 | Gear, differential side | |
| 4 | 1***2 | Pin | |
| 5 | 0***4 | Circlip | |
| 6 | 0***3 | Circlip | |
| 7 | 1***1 | Washer, friction | |
| 8 | 1***1 | Pinion, differential | |
| 9 | 1***1 | Washer, friction | |
| 10 | 0***0 | Bolt | |
| 11 | 0***7 | Bolt, cylinder | |
| 12 | 1***4 | Gear, bevel set | |
| 13 | 0***2 | Bearing, taper roller | |
| 14 | 0***9 | Shim | |
| 14 | 0***1 | Shim | |
| 14 | 0***5 | Shim | |
| 14 | 0***6 | Shim | |
| 15 | 0***7 | Shim | |
| 15 | 0***8 | Shim | |
| 15 | 0***9 | Shim | |
| 15 | 0***0 | Shim | |
| 18 | 3***1 | Nut | |
| 19 | 9***1 | Nut, ring | |
| 20 | 0***0 | Seal | |
| 21 | 9***1 | Plate, cover | |
| 23 | 1***2 | Spacer | |
| 24 | 0***8 | O-ring | |
| 25 | 1***2 | Nut, ring | |
| 26 | 0***4 | Bolt, cylinder | |
| 27 | 1***7 | Flange | |
| 28 | 1***1 | Differential |
Содержащиеся в справочниках-каталогах запасные части и детали не предлагаются к продаже, а носят исключительно информационный характер. В демо-версии артикулы (номера деталей) скрыты. Если вы хотите видеть полные оригинальные номера запчастей, вам необходимо зарегистрироваться на нашем сайте и приобрести подписку по интересующей вас конфигурации, после этого вы сможете встроить онлайн-каталоги на ваш сайт или пользоваться ими из личного кабинета нашего сайта. Обращаем ваше внимание на то, что каталоги содержат информацию об оригинальных заводских номерах и названиях запчастей. База по аналогам в данный момент не реализована. Поиска по VIN-номерам в онлайн-каталоге не предусмотрено. Выбор конкретного каталога осуществляется путем открытия нужного типа техники, марки, модели с учетом года выпуска или модификации.