Каталог запасных частей к технике: Doosan B20T-5. 410131-00015 AUX1 SECTION AS

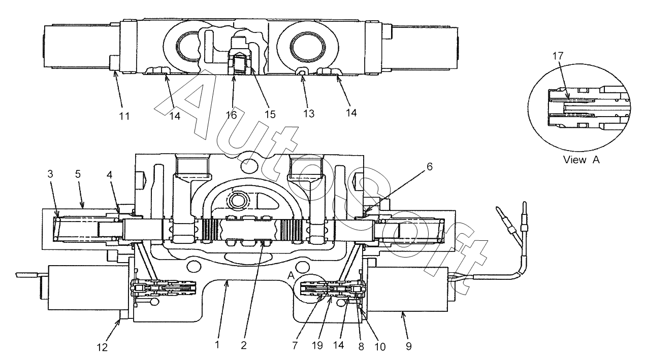
11
19
17
16
15
14
14
14
13
12
1
10
9
8
7
6
5
4
3
2
Позиция на иллюстрации | Заводской номер детали | Название детали | |
---|---|---|---|
401107-00686 | 4***6 | SEAL KIT | |
1 | V***X | VALVE HOUSING-AUX | |
2 | 4***4 | SPOOL, AUX | |
3 | D***9 | SPRING | |
4 | D***0 | SPRING SEAT | |
5 | D***1 | CAP | |
6 | O***G | O-ring | |
7 | D***7 | SLEEVE | |
8 | D***2 | SHUTTLE | |
9 | D***3 | SOLENOID | |
10 | O***G | O-ring | |
11 | D***4 | SOCKET HEAD BOLT | |
12 | D***5 | SOCKET HEAD BOLT | |
13 | O***G | O-ring | |
14 | O***G | O-ring | |
15 | D***4 | POPPET | |
16 | D***5 | SPRING | |
17 | D***8 | SPRING | |
18 | O***G | O-ring | |
19 | O***G | O-ring |
Содержащиеся в справочниках-каталогах запасные части и детали не предлагаются к продаже, а носят исключительно информационный характер. В демо-версии артикулы (номера деталей) скрыты. Если вы хотите видеть полные оригинальные номера запчастей, вам необходимо зарегистрироваться на нашем сайте и приобрести подписку по интересующей вас конфигурации, после этого вы сможете встроить онлайн-каталоги на ваш сайт или пользоваться ими из личного кабинета нашего сайта. Обращаем ваше внимание на то, что каталоги содержат информацию об оригинальных заводских номерах и названиях запчастей. База по аналогам в данный момент не реализована. Поиска по VIN-номерам в онлайн-каталоге не предусмотрено. Выбор конкретного каталога осуществляется путем открытия нужного типа техники, марки, модели с учетом года выпуска или модификации.