Каталог запасных частей к технике: Doosan DL200TC (2010). GEAR SHIFT SYSTEM (1) - TRANSMISSION

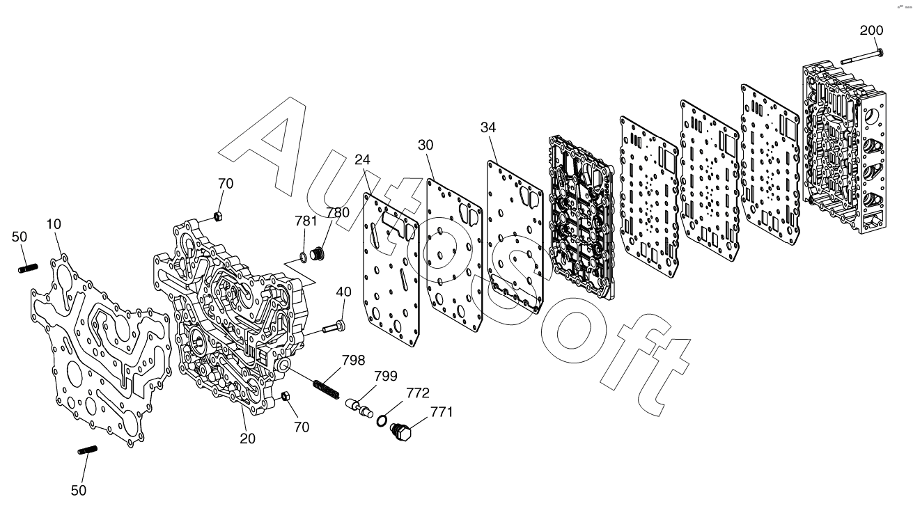
10
20
24
30
34
40
50
50
70
70
200
771
772
780
781
798
799
Позиция на иллюстрации | Заводской номер детали | Название детали | |
---|---|---|---|
10 | K***2 | GASKET | |
20 | K***3 | PLATE, DUCT | |
24 | 1***3 | GASKET | |
30 | 1***2 | SHEET, INTERMEDIATE | |
34 | 1***4 | GASKET | |
40 | 1***2 | SCREW | |
50 | 1***6 | STUD | |
70 | 1***4 | NUT, HEX. | |
200 | 1***5 | SCREW | |
771 | 1***6 | PLUG | |
772 | 1***5 | O-RING | |
780 | 1***4 | PLUG | |
781 | 1***5 | O-RING | |
798 | 1***3 | SPRING, COMPR. | |
799 | K***9 | PISTON |
Содержащиеся в справочниках-каталогах запасные части и детали не предлагаются к продаже, а носят исключительно информационный характер. В демо-версии артикулы (номера деталей) скрыты. Если вы хотите видеть полные оригинальные номера запчастей, вам необходимо зарегистрироваться на нашем сайте и приобрести подписку по интересующей вас конфигурации, после этого вы сможете встроить онлайн-каталоги на ваш сайт или пользоваться ими из личного кабинета нашего сайта. Обращаем ваше внимание на то, что каталоги содержат информацию об оригинальных заводских номерах и названиях запчастей. База по аналогам в данный момент не реализована. Поиска по VIN-номерам в онлайн-каталоге не предусмотрено. Выбор конкретного каталога осуществляется путем открытия нужного типа техники, марки, модели с учетом года выпуска или модификации.