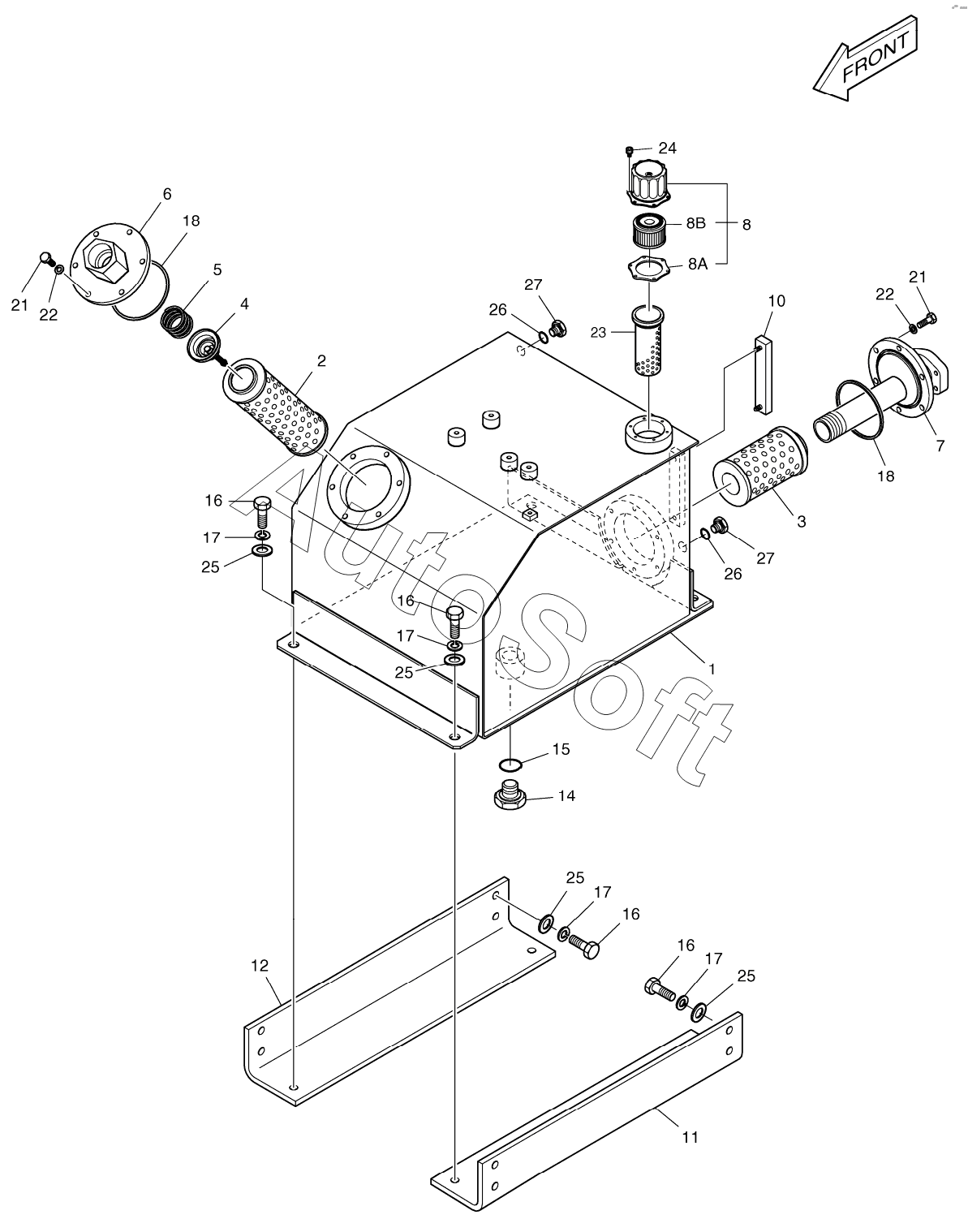
Каталог запасных частей к технике: Doosan DL160 (2009). OIL TANK

1
2
3
4
5
6
7
8
8A
8B
10
11
12
14
15
16
16
16
16
17
17
17
17
18
18
21
21
22
22
23
24
25
25
25
25
26
26
27
27
Позиция на иллюстрации | Заводской номер детали | Название детали | |
---|---|---|---|
4470-2140E | 4***E | OIL TANK ASSY | |
1 | 4***C | TANK, OIL | |
1 | 4***E | TANK, OIL | |
10 | 2***7 | GAUGE;LEVEL | |
11 | 4***8 | BRACKET, TANK | |
12 | 4***9 | BRACKET, TANK | |
14 | 2***9 | PLUG PFO1 | |
15 | S***1 | O-RING | |
16 | S***1 | BOLT M16X2.0X40 | |
17 | S***1 | WASHER;SPRING | |
18 | S***0 | O-RING | |
2 | 2***A | FILTER, RETURN | |
21 | S***3 | BOLT M10X1.5X28 | |
22 | S***3 | WASHER;SPRING M10 | |
23 | 2***A | FILTER | |
24 | S***6 | BOLT | |
25 | 2***2 | WASHER | |
26 | S***1 | O-RING | |
27 | 2***2 | PLUG PT1/4 | |
3 | 4***0 | FILTER, SUCTION | |
4 | 2***0 | VALVE, BYPASS | |
5 | 2***5 | SPRING | |
5 | K***6 | SPRING | |
6 | 4***B | COVER, FILLER | |
7 | 4***A | PIPE, SUCTION | |
8 | K***A | Breather, air | |
8A | K***2 | Gasket | |
8B | K***7 | Element, air breather |
Содержащиеся в справочниках-каталогах запасные части и детали не предлагаются к продаже, а носят исключительно информационный характер. В демо-версии артикулы (номера деталей) скрыты. Если вы хотите видеть полные оригинальные номера запчастей, вам необходимо зарегистрироваться на нашем сайте и приобрести подписку по интересующей вас конфигурации, после этого вы сможете встроить онлайн-каталоги на ваш сайт или пользоваться ими из личного кабинета нашего сайта. Обращаем ваше внимание на то, что каталоги содержат информацию об оригинальных заводских номерах и названиях запчастей. База по аналогам в данный момент не реализована. Поиска по VIN-номерам в онлайн-каталоге не предусмотрено. Выбор конкретного каталога осуществляется путем открытия нужного типа техники, марки, модели с учетом года выпуска или модификации.