Каталог запасных частей к технике: Doosan S500LC-V (2009). COVER-NOISE KIT

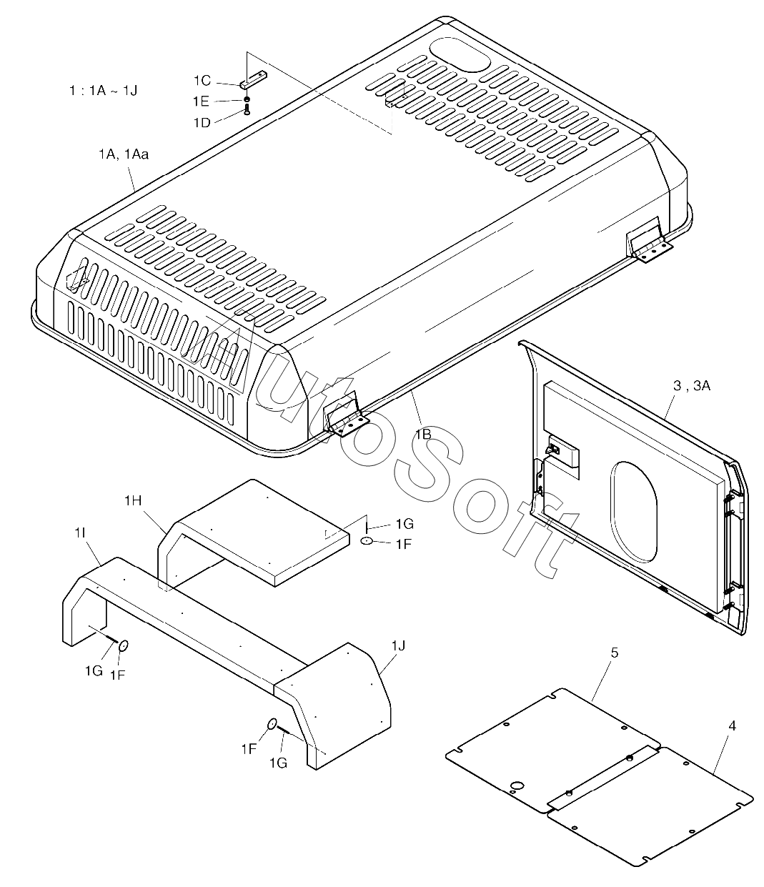
1
1A
1A
1Aa
1B
1C
1D
1E
1F
1F
1F
1G
1G
1G
1H
1I
1J
1J
3
3
3
3A
3A
4
5
Позиция на иллюстрации | Заводской номер детали | Название детали | |
---|---|---|---|
537-00022 | 5***2 | NOISE KIT | |
1 | 6***C | COVER, ENGINE | |
1A | 6***E | COVER, ENGINE | |
1Aa | 1***1 | RUBBER;CUSHION | |
1B | T***M | TRIM | |
1C | 2***4 | RUBBER | |
1D | S***3 | SCREW | |
1E | S***3 | NUT M6X1.0 | |
1F | 2***1 | HOLDER | |
1G | 2***5 | PIN | |
1H | F***M | FOAM | |
1I | F***M | FOAM | |
1J | F***M | FOAM | |
3 | 6***E | SIDE DOOR ASSY | |
3 | 6***G | SIDE DOOR ASSY | |
3 | 6***I | SIDE DOOR ASSY | |
3A | 6***C | DOOR, SIDE | |
3A | 6***G | DOOR, SIDE | |
4 | 6***B | COVER, UNDER | |
5 | 6***C | COVER, UNDER |
Содержащиеся в справочниках-каталогах запасные части и детали не предлагаются к продаже, а носят исключительно информационный характер. В демо-версии артикулы (номера деталей) скрыты. Если вы хотите видеть полные оригинальные номера запчастей, вам необходимо зарегистрироваться на нашем сайте и приобрести подписку по интересующей вас конфигурации, после этого вы сможете встроить онлайн-каталоги на ваш сайт или пользоваться ими из личного кабинета нашего сайта. Обращаем ваше внимание на то, что каталоги содержат информацию об оригинальных заводских номерах и названиях запчастей. База по аналогам в данный момент не реализована. Поиска по VIN-номерам в онлайн-каталоге не предусмотрено. Выбор конкретного каталога осуществляется путем открытия нужного типа техники, марки, модели с учетом года выпуска или модификации.