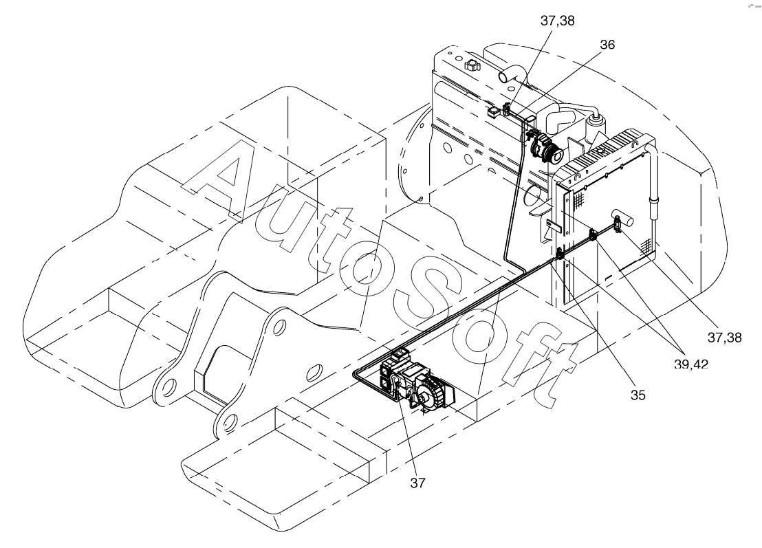
Каталог запасных частей к технике: Doosan S500LC-V (2009). HEATER PIPING

35
36
37
37
37
38
38
39
42
Позиция на иллюстрации | Заводской номер детали | Название детали | |
---|---|---|---|
920-00069 | 9***9 | COOLER & HEATER | |
35 | 2***8 | HOSE, RUBBER | |
36 | 2***9 | HOSE, RUBBER | |
37 | S***6 | CLAMP;HOSE | |
38 | 2***5 | COCK | |
39 | 1***3 | CLIP D20/M8 | |
42 | 1***6 | BOLT M8X1.25X12 |
Содержащиеся в справочниках-каталогах запасные части и детали не предлагаются к продаже, а носят исключительно информационный характер. В демо-версии артикулы (номера деталей) скрыты. Если вы хотите видеть полные оригинальные номера запчастей, вам необходимо зарегистрироваться на нашем сайте и приобрести подписку по интересующей вас конфигурации, после этого вы сможете встроить онлайн-каталоги на ваш сайт или пользоваться ими из личного кабинета нашего сайта. Обращаем ваше внимание на то, что каталоги содержат информацию об оригинальных заводских номерах и названиях запчастей. База по аналогам в данный момент не реализована. Поиска по VIN-номерам в онлайн-каталоге не предусмотрено. Выбор конкретного каталога осуществляется путем открытия нужного типа техники, марки, модели с учетом года выпуска или модификации.