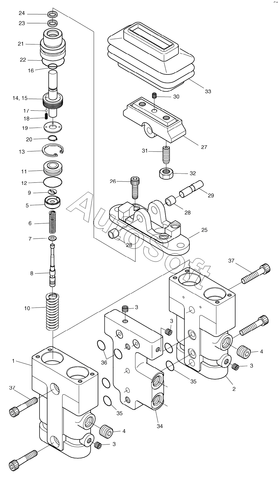
Каталог запасных частей к технике: Doosan S500LC-V (2009). PEDAL VALVE

29
20
21
22
23
24
25
26
27
28
28
19
30
31
32
33
34
35
35
36
37
37
10
1
2
3
3
3
3
4
4
5
6
7
8
9
11
12
13
14
15
16
17
18
Позиция на иллюстрации | Заводской номер детали | Название детали | |
---|---|---|---|
420-00030 | 4***0 | PEDAL VALVE | |
1 | J***1 | BODY(1) | |
2 | J***2 | BODY(2) | |
3 | N***6 | PLUG NPT1/16 | |
4 | W***8 | PLUG PT3/8 | |
5 | J***3 | SEAT;SPRING | |
6 | J***4 | SPRING | |
7 | J***8 | SEAT;SPRING | |
8 | J***5 | SPOOL | |
9 | J***6 | STOPPER | |
10 | J***7 | SPRING | |
11 | J***8 | GUIDE;ROD | |
12 | P***2 | O-RING | |
13 | S***H | RING;SNAP | |
14 | J***9 | ROD;PUSH | |
15 | S***6 | PIN;SPRING | |
16 | J***0 | SEAL | |
17 | S***8 | BALL;STEEL | |
18 | J***1 | SPRING | |
19 | J***2 | PLATE | |
20 | S***S | RING;SNAP | |
21 | J***3 | PLUG | |
22 | G***5 | O-RING | |
23 | R***2 | SEAL;ROD | |
24 | D***2 | SEAL;DUST | |
25 | J***4 | COVER | |
26 | W***0 | BOLT;WRENCH M6X1.0X30 | |
27 | J***5 | CAM | |
28 | D***0 | BUSH;DU 10X10 | |
29 | J***6 | SHAFT;CAM | |
30 | S***5 | SCREW;SET | |
31 | J***5 | SCREW;SET | |
32 | H***0 | NUT M10 | |
33 | J***6 | BELLOW | |
34 | J***5 | SPACER | |
35 | P***2 | O-RING | |
36 | P***0 | O-RING | |
37 | W***2 | BOLT;WRENCH M10X1.5X42 |
Содержащиеся в справочниках-каталогах запасные части и детали не предлагаются к продаже, а носят исключительно информационный характер. В демо-версии артикулы (номера деталей) скрыты. Если вы хотите видеть полные оригинальные номера запчастей, вам необходимо зарегистрироваться на нашем сайте и приобрести подписку по интересующей вас конфигурации, после этого вы сможете встроить онлайн-каталоги на ваш сайт или пользоваться ими из личного кабинета нашего сайта. Обращаем ваше внимание на то, что каталоги содержат информацию об оригинальных заводских номерах и названиях запчастей. База по аналогам в данный момент не реализована. Поиска по VIN-номерам в онлайн-каталоге не предусмотрено. Выбор конкретного каталога осуществляется путем открытия нужного типа техники, марки, модели с учетом года выпуска или модификации.