Каталог запасных частей к технике: SDLG LG916D. Система охлаждения;Cooling system

11
21
20
19
18
17
16
15
14
13
12
1
1
1
10
9
8
7
6
5
4
3
2
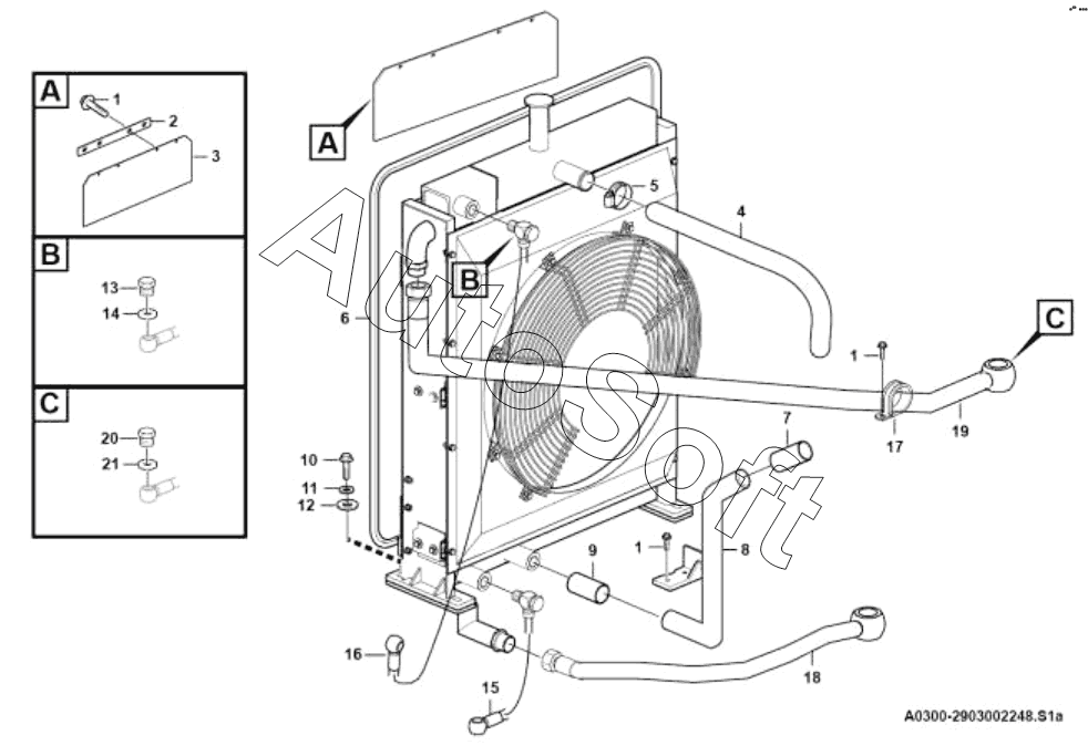
Позиция на иллюстрации | Заводской номер детали | Название детали | |
---|---|---|---|
1 | 4***1 | BOLT | |
2 | 2***1 | Крепежная пластина | |
3 | 2***1 | Резиновая пластина | |
4 | 2***1 | Шланг | |
5 | 4***7 | CLAMP | |
6 | 4***3 | Радиатор | |
7 | 2***1 | Шланг | |
8 | 2***1 | Труба | |
9 | 2***1 | Шланг | |
10 | 4***1 | BOLT | |
11 | 4***8 | WASHER | |
12 | 4***6 | WASHER | |
13 | 4***4 | Болт | |
14 | 4***0 | WASHER JB1002-22-T2 | |
15 | 2***1 | Шланг в сборе | |
16 | 2***1 | Шланг в сборе | |
17 | 2***1 | Clamp | |
18 | 2***1 | Шланг | |
19 | 2***1 | Шланг в сборе | |
20 | 4***7 | BOLT JB999-M27x2x55-35 | |
21 | 4***2 | Washer |
Содержащиеся в справочниках-каталогах запасные части и детали не предлагаются к продаже, а носят исключительно информационный характер. В демо-версии артикулы (номера деталей) скрыты. Если вы хотите видеть полные оригинальные номера запчастей, вам необходимо зарегистрироваться на нашем сайте и приобрести подписку по интересующей вас конфигурации, после этого вы сможете встроить онлайн-каталоги на ваш сайт или пользоваться ими из личного кабинета нашего сайта. Обращаем ваше внимание на то, что каталоги содержат информацию об оригинальных заводских номерах и названиях запчастей. База по аналогам в данный момент не реализована. Поиска по VIN-номерам в онлайн-каталоге не предусмотрено. Выбор конкретного каталога осуществляется путем открытия нужного типа техники, марки, модели с учетом года выпуска или модификации.