Каталог запасных частей к технике: SDLG LG6225E (2013). Swing motor

36
25
26
27
28
29
30
31
32
33
34
35
24
37
38
39
40
40
41
42
43
44
45
13
2
3
4
5
6
7
8
9
10
11
12
1
14
15
15
16
17
18
19
20
21
22
23
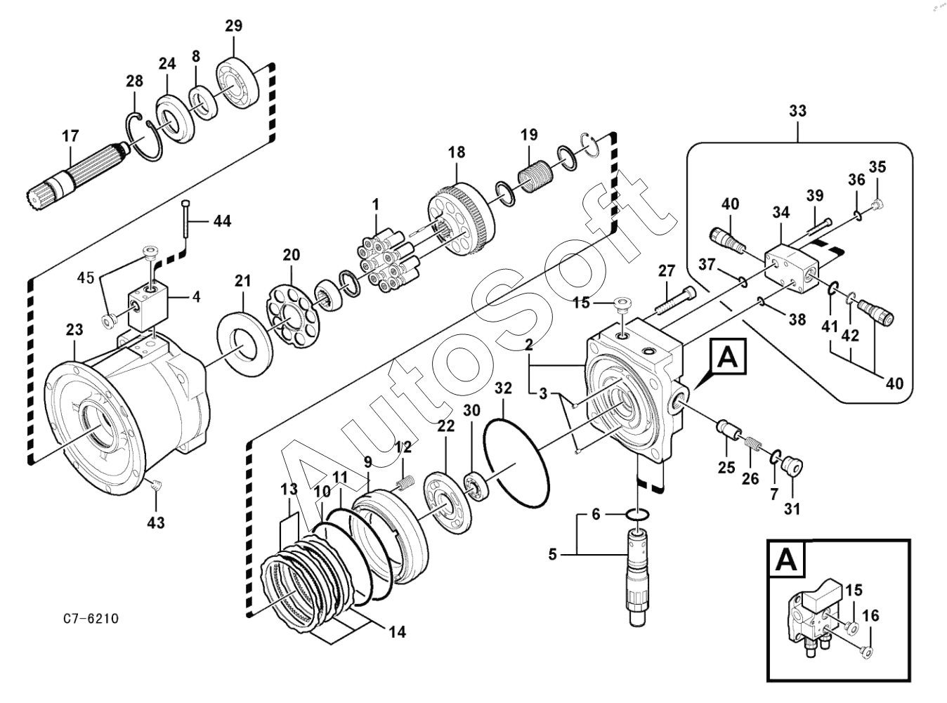
Позиция на иллюстрации | Заводской номер детали | Название детали | |
---|---|---|---|
1 | 1***9 | Piston | |
2 | 1***0 | Housing | |
3 | 1***5 | Spring pin | |
4 | 1***7 | Valve | |
5 | 1***8 | Relief valve | |
6 | 1***0 | O-Ring | |
7 | 1***3 | O-Ring | |
8 | 1***9 | Seal | |
9 | 1***6 | Brake piston | |
10 | 1***2 | O-Ring | |
11 | 1***3 | O-Ring | |
12 | 1***8 | Spring | |
13 | 1***7 | Card | |
14 | 1***6 | Card | |
15 | 1***8 | Plug | |
16 | 1***9 | Plug | |
17 | 1***8 | Axis | |
18 | 1***7 | Cylinder | |
19 | 1***6 | Spring | |
20 | 1***5 | Card | |
21 | 1***4 | Card | |
22 | 1***3 | Card | |
23 | 1***2 | Housing | |
24 | 1***8 | Cover | |
25 | 1***6 | Control plunger | |
26 | 1***5 | Spring | |
27 | 1***7 | Screw | |
28 | 1***1 | Ring | |
29 | 1***8 | Roller bearing | |
30 | 1***0 | Bearing | |
31 | 1***5 | Plug | |
32 | 1***7 | O-Ring | |
33 | 1***3 | Valve | |
34 | 1***5 | Housing | |
35 | 1***0 | Plug | |
36 | 1***4 | O-Ring | |
37 | 1***4 | O-Ring | |
38 | 1***3 | O-Ring | |
39 | 1***8 | Nut | |
40 | 1***2 | Valve | |
41 | 1***7 | O-Ring | |
42 | 1***8 | Sealing ring | |
43 | 1***5 | Plug | |
44 | 1***6 | Screw | |
45 | 1***6 | Plug | |
46 | 1***9 | Sealing Kit | |
47 | 1***1 | Turning Motor |
Содержащиеся в справочниках-каталогах запасные части и детали не предлагаются к продаже, а носят исключительно информационный характер. В демо-версии артикулы (номера деталей) скрыты. Если вы хотите видеть полные оригинальные номера запчастей, вам необходимо зарегистрироваться на нашем сайте и приобрести подписку по интересующей вас конфигурации, после этого вы сможете встроить онлайн-каталоги на ваш сайт или пользоваться ими из личного кабинета нашего сайта. Обращаем ваше внимание на то, что каталоги содержат информацию об оригинальных заводских номерах и названиях запчастей. База по аналогам в данный момент не реализована. Поиска по VIN-номерам в онлайн-каталоге не предусмотрено. Выбор конкретного каталога осуществляется путем открытия нужного типа техники, марки, модели с учетом года выпуска или модификации.