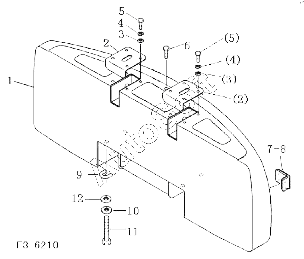
Каталог запасных частей к технике: SDLG LG6225E (2013). Counterweights

1
2
2
3
3
4
4
5
5
6
7
8
9
10
11
12
Позиция на иллюстрации | Заводской номер детали | Название детали | |
---|---|---|---|
1 | 2***1 | Counterweight | |
2 | 2***2 | Connecting board | |
3 | 1***8 | Washer | |
4 | 1***3 | Spring washer | |
5 | 1***8 | Hex bolt | |
6 | 4***4 | Screw | |
7 | 2***1 | Warning sticker | |
8 | 2***1 | Warning sticker | |
9 | 1***9 | Shim | |
10 | 1***6 | Single washer | |
11 | 1***2 | Hex bolt | |
12 | 1***8 | Shim |
Содержащиеся в справочниках-каталогах запасные части и детали не предлагаются к продаже, а носят исключительно информационный характер. В демо-версии артикулы (номера деталей) скрыты. Если вы хотите видеть полные оригинальные номера запчастей, вам необходимо зарегистрироваться на нашем сайте и приобрести подписку по интересующей вас конфигурации, после этого вы сможете встроить онлайн-каталоги на ваш сайт или пользоваться ими из личного кабинета нашего сайта. Обращаем ваше внимание на то, что каталоги содержат информацию об оригинальных заводских номерах и названиях запчастей. База по аналогам в данный момент не реализована. Поиска по VIN-номерам в онлайн-каталоге не предусмотрено. Выбор конкретного каталога осуществляется путем открытия нужного типа техники, марки, модели с учетом года выпуска или модификации.