Каталог запасных частей к технике: LiuGong CLG-856III. 12C0785 002 PILOT OIL SUPPLY VALVE

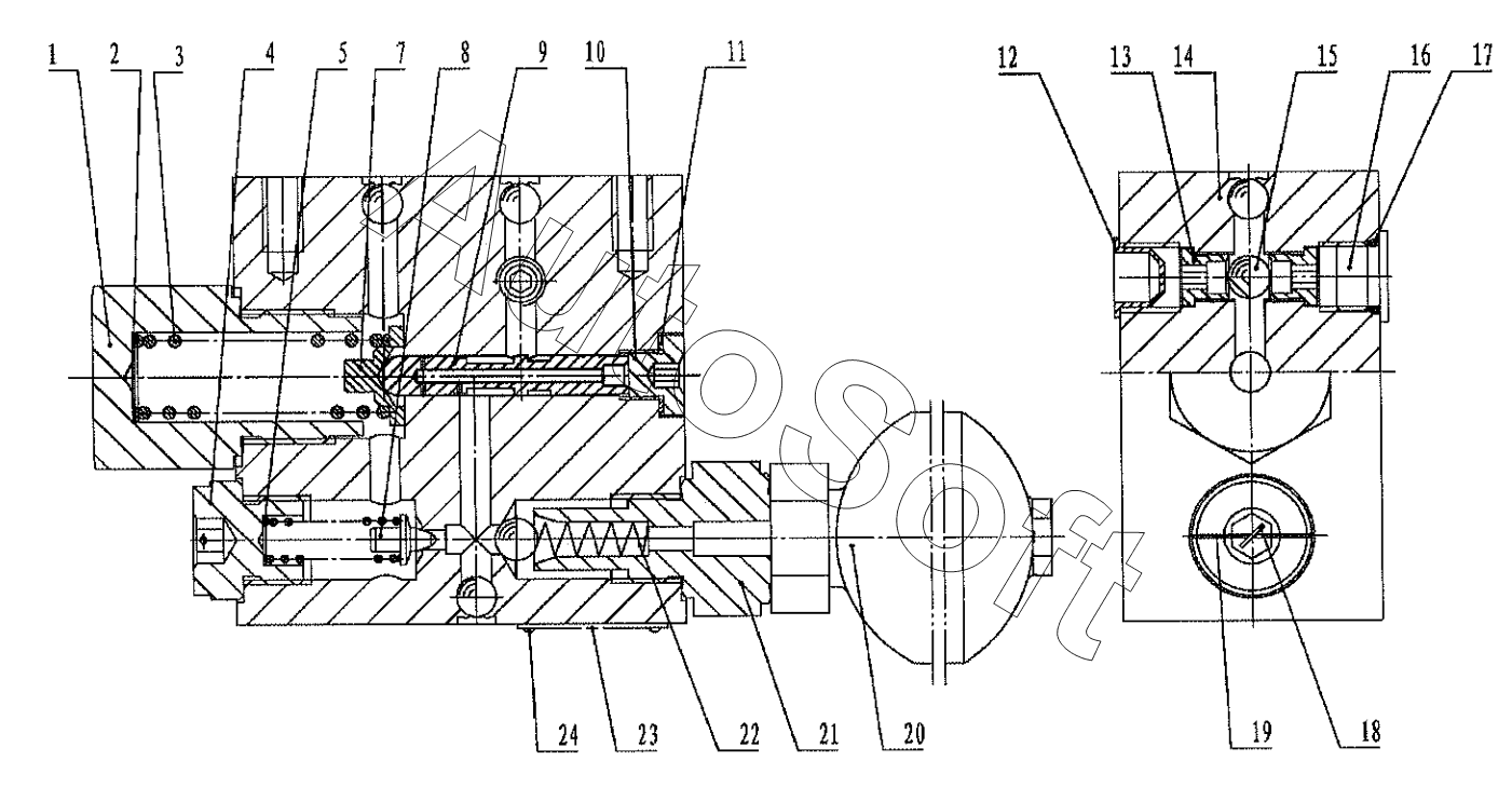
13
24
23
22
21
20
19
18
17
16
15
14
1
12
11
10
9
8
7
5
4
3
2
Позиция на иллюстрации | Заводской номер детали | Название детали | |
---|---|---|---|
1 | W***1 | PLUG | |
2 | W***2 | SHIM | |
3 | W***8 | SPRING | |
4 | W***2 | PLUG | |
5 | W***2 | SHIM | |
6 | W***0 | SPRING | |
7 | W***1 | SPRING HOLDER | |
8 | 1***4 | SPOOL | |
9 | W***3 | SPOOL | |
10 | М***1 | PLUG | |
11 | 1***7 | SEAT RING | |
12 | Q***5 | PLUG | |
13 | W***6 | VALVE SEAT | |
14 | W***0 | VALVE UNIT | |
15 | 8***7 | BOLL | |
16 | М***5 | PLUG | |
17 | 2***5 | O-RING | |
18 | F***9 | LEAD SEAL | |
19 | F***0 | FUSE | |
20 | G***0 | ACCUMULATOR | |
21 | W***4 | CONNECTER | |
22 | F***5 | SPRING | |
23 | Q***1 | NAMEPLATE | |
24 | G***7 | RIVET |
Содержащиеся в справочниках-каталогах запасные части и детали не предлагаются к продаже, а носят исключительно информационный характер. В демо-версии артикулы (номера деталей) скрыты. Если вы хотите видеть полные оригинальные номера запчастей, вам необходимо зарегистрироваться на нашем сайте и приобрести подписку по интересующей вас конфигурации, после этого вы сможете встроить онлайн-каталоги на ваш сайт или пользоваться ими из личного кабинета нашего сайта. Обращаем ваше внимание на то, что каталоги содержат информацию об оригинальных заводских номерах и названиях запчастей. База по аналогам в данный момент не реализована. Поиска по VIN-номерам в онлайн-каталоге не предусмотрено. Выбор конкретного каталога осуществляется путем открытия нужного типа техники, марки, модели с учетом года выпуска или модификации.