Каталог запасных частей к технике: LiuGong CLG-856III. 12C0685 010 DIVERTER VALVE

1
1
2
2
3
4
5
6
7
8
9
10
12
13
14
15
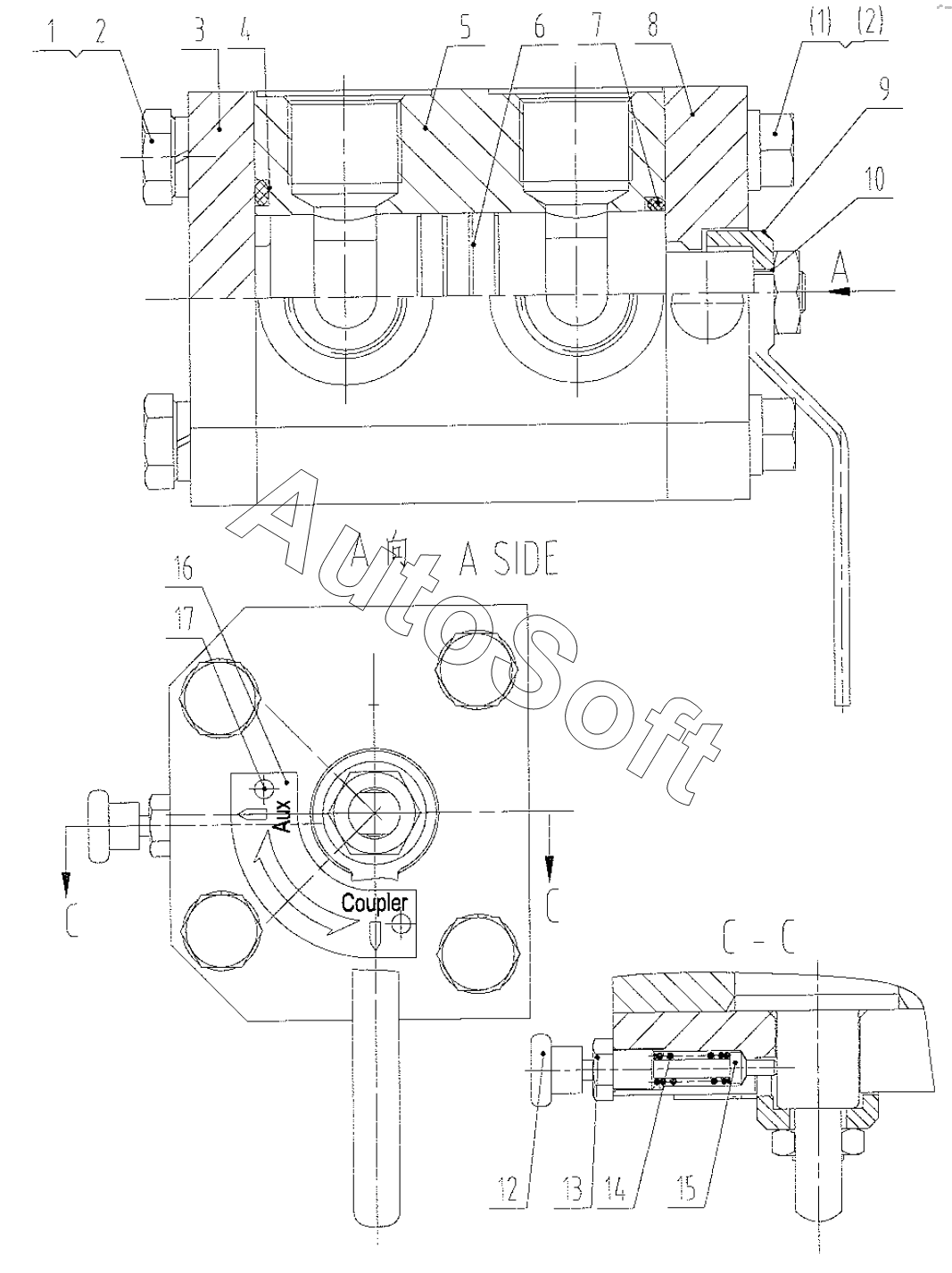
Позиция на иллюстрации | Заводской номер детали | Название детали | |
---|---|---|---|
1 | 0***6 | Шайба | |
2 | 0***0 | BOLT | |
3 | 1***9 | COVER | |
4 | 1***7 | Кольцо круглого сечения | |
5 | 7***6 | VALVE BODY | |
6 | 6***8 | SPOOL | |
7 | 1***0 | Кольцо | |
8 | 1***8 | COVER | |
9 | 1***6 | CONTROL LEVER | |
10 | 0***1 | NUT | |
12 | 5***7 | HAND WHEEL | |
13 | 0***7 | PLUG | |
14 | 7***7 | RETURN SPRING | |
15 | 6***0 | VALVE ROD | |
16 | 7***7 | NAMEPLATE | |
17 | 0***2 | Заклёпка |
Содержащиеся в справочниках-каталогах запасные части и детали не предлагаются к продаже, а носят исключительно информационный характер. В демо-версии артикулы (номера деталей) скрыты. Если вы хотите видеть полные оригинальные номера запчастей, вам необходимо зарегистрироваться на нашем сайте и приобрести подписку по интересующей вас конфигурации, после этого вы сможете встроить онлайн-каталоги на ваш сайт или пользоваться ими из личного кабинета нашего сайта. Обращаем ваше внимание на то, что каталоги содержат информацию об оригинальных заводских номерах и названиях запчастей. База по аналогам в данный момент не реализована. Поиска по VIN-номерам в онлайн-каталоге не предусмотрено. Выбор конкретного каталога осуществляется путем открытия нужного типа техники, марки, модели с учетом года выпуска или модификации.