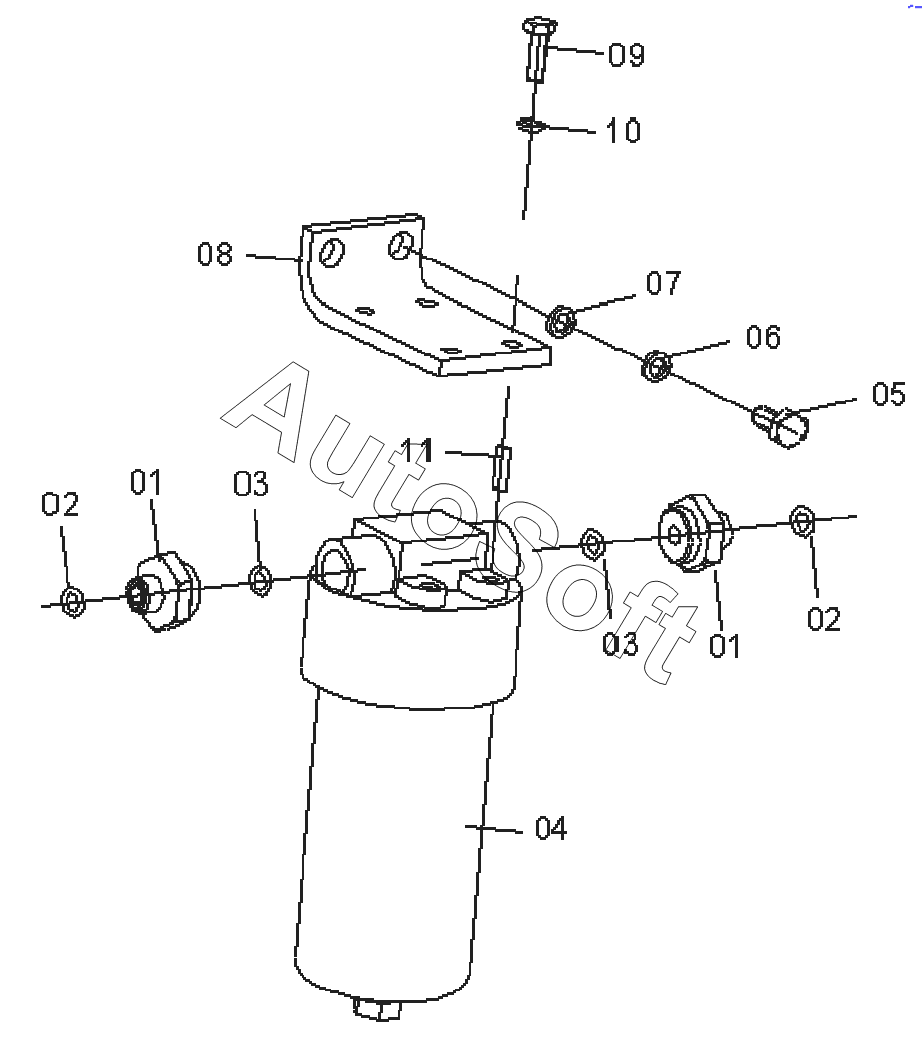
Каталог запасных частей к технике: LiuGong CLG-842. 12C0787 000 HIGH PRESSURE FILTER MOUNTING

1
1
2
2
3
3
4
5
6
7
8
9
10
11
Позиция на иллюстрации | Заводской номер детали | Название детали | |
---|---|---|---|
1 | 0***2 | CONNECTOR | |
2 | 1***5 | Кольцо | |
3 | 0***4 | Шайба | |
4 | 5***5 | HIGH PRESSURE FILTER | |
5 | 0***9 | Болт | |
6 | 0***5 | Шайба | |
7 | 0***2 | Шайба | |
8 | 2***2 | PLATE | |
9 | 0***8 | Болт | |
10 | 0***2 | Шайба стопорная | |
11 | 5***9 | SLEEVE |
Содержащиеся в справочниках-каталогах запасные части и детали не предлагаются к продаже, а носят исключительно информационный характер. В демо-версии артикулы (номера деталей) скрыты. Если вы хотите видеть полные оригинальные номера запчастей, вам необходимо зарегистрироваться на нашем сайте и приобрести подписку по интересующей вас конфигурации, после этого вы сможете встроить онлайн-каталоги на ваш сайт или пользоваться ими из личного кабинета нашего сайта. Обращаем ваше внимание на то, что каталоги содержат информацию об оригинальных заводских номерах и названиях запчастей. База по аналогам в данный момент не реализована. Поиска по VIN-номерам в онлайн-каталоге не предусмотрено. Выбор конкретного каталога осуществляется путем открытия нужного типа техники, марки, модели с учетом года выпуска или модификации.